繁體
  • 简体中文
  • 繁體中文

熱門資訊> 正文

借買樓名義,南都物業成韓芳母子的「提款機」

2022-11-11 17:18

  文/樂居財經徐酒眠

  為南都物業(603506.SH)建設總部大樓,儼然成爲了近幾年韓芳日程表上,最為重要事宜之一。

  三年前,韓芳搭上何賽飛的妹妹夏賽麗,牽線南都物業與賽麗地產共同開發西湖西側、報先寺東南側的杭政儲出[2019]46號地塊,作為總部辦公大樓。為此,韓芳大手一揮,劃出了2.3億資金提供給賽麗地產合作該項目成立的子公司麗郡置業,年利率為7.2%。

  然而,翹盼的搬遷總部大樓計劃,在雙方合作不到一年就告吹了。南都物業不僅因為當初這筆「蹊蹺」的借款收到了上交所發出的監管函,還自此走上了向賽麗地產追討借款的道路。

  此前為修建總部大樓遺留的問題未清,韓芳又相中了新的總部大樓選址。11月8日晚,南都物業披露對外投資暨關聯交易公告。

  據此,南都物業擬以8525.98萬元的代價,受讓控股股東浙江南都產業發展集團有限公司(簡稱「南都產發集團」)的一家子公司17%股權,以此參與投資雙橋(雲谷)單元XH0205-17地塊,建設總部大樓,計劃后續投資總額為不超過3億元。

  這則公告刊出后,投資者在各大投資交流平臺議論紛紛,唱衰情緒充斥着評論區:

  「看似投資,實際是南都物業幫助南都集團套現」、「韓芳為什麼不賣股票呢,賣了自己的股票去收購多好」、「怎麼光打上市公司的主意」、「上次買大樓證監會給辦了,這次買大樓怎麼就一點不漲記性呢」……

  投資者情緒不高,牽連南都物業維持了連續多天上漲的股價回落。11月10日,其股市收跌1.72%,報11.97元/股,市盈率(TTM)13.19,總市值22.48億元。

  當日晚間,南都物業再次對這項對外投資暨關聯交易,刊發了一則補充公告,強調這筆交易的必要性與公允性。然而個別網友似乎並不買賬,甚至在補充公告下留言:「都是利益輸送」。

  近千萬「倒手」差價

  南都物業從南都產發受讓的公司,為浙江谷尚智能科技有限公司(簡稱「谷尚智能」),成立於2020年5月底,目前的註冊資本與實繳資本均為1億元。

  谷尚智能一共有7位股東,其中南都產發集團認繳出資1700萬元,持股佔比17%,位列第三大股東。南都產發集團則由韓芳及兒子韓誠,分別持股99.9001%、0.0999%。

  從谷尚智能近期的財務報表來看,2021年以及今年前4個月的淨利潤處於虧損狀態。儘管如此,南都物業依舊給出了高於17%淨資產的收購價格。

  根據公告,截至2022年4月30日,谷尚智能經審覈的淨資產約為4.28億元。以此計算,南都產發集團的17%股權,所佔淨資產約為7281.98萬元。對比此次8525.98萬元的轉讓價格,較淨資產高出1244萬元。

  南都物業在公告中解釋,截至目前,南都產發集團作為股東,已向谷尚智能合計投資7650萬元,包括谷尚智能實繳註冊資本及根據項目進度投入的增資款。即便如此,南都產發集團在這波關聯交易中也「賺」了約875.98萬元的差價。

  南都產發集團對於谷尚智能17%股權轉讓作價8525.98萬元,南都物業公告表示,評估增值主要因為在建工程和無形資產有所增值,前者計入了資金成本,后者是土地使用權價值根據市場情況有所增加。

  簡而言之一句話,定價公允合理。

  根據公告,南都物業需要在交易生效起的五個工作日之內,一次性全額將收購款打到南都產發集團的賬户上。

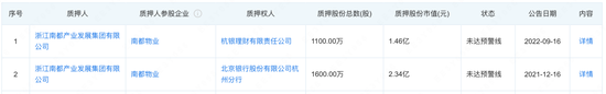
  「自己投資撐不住了,甩給上市公司承擔了。」投資者的質疑並非空穴來風,事實上南都產發集團此前的兩筆股權質押已透露出缺錢境況。

  去年的12月和今年的9月,南都產發集團曾兩度向金融機構出質南都物業股權融資。截至目前,其累計質押了南都物業2700萬股股份,佔其持股數量的41.84%,佔南都物業總股本比例的14.38%。而質押股份市值,合計約為3.8億元。

  合作股東拖欠工程款

  冠名科技公司,谷尚智能的經營範圍包括智能機器人的研發、工業機器人制造等。不過,谷尚智能的核心資產卻是一塊地皮。

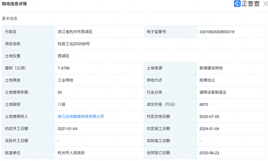
  2020年6月,成立一個月的谷尚智能通過競拍,以8970萬元取得了雙橋(雲谷)單元XH0205-17地塊的土地使用權。據公告介紹,該地塊總建築面積為29.39萬平方米。其位於杭州城西科創大走廊的雲谷片區,北部是阿里雲計算大數據產業園。

  該地塊規劃建造17幢建築,由谷尚智能股東之一浙江棲江科技有限公司控股股東——杭州西湖城市建設投資集團有限公司——負責代建。

  入股谷尚智能后,南都物業可使用其中3幢建築(地上建築面積約為3.78萬平方米)作為總部大樓使用,同時將委派一名董事參與經營決策,對其中3幢建築的建設及裝修具有決定權。

  該項目的開發進度如何?南都物業未有過多信息披露,不過該項目已經出現合作股東拖欠工程款的情況。

  項目未結,昔日的合作伙伴已走上對簿公堂之路。

  今年5月份,南都產發集團夥同其中3位股東作為原告,向法院起訴了谷尚智能的另一位股東——杭州子巨自動化設備有限公司(簡稱「子巨設備」),案件緣由是子巨設備未按期足額支付谷尚智能工程款,以履行股東義務。

  根據《杭州市西湖區人民法院民事裁定書》((2022)浙0106訴前調確1258號),子巨設備未在9月30號之前付清工程進度款,因此其在谷尚智能的14%股權,將由南都產發集團、杭州微風堂文化創意有限公司、浙江天能建設發展有限公司,以及杭州可澤網絡科技有限公司4位原告股東瓜分,各自受讓3.5%。

  公告稱,在此前的股東會議中,股東一致同意,若上述案件勝訴,無論谷尚智能是否引入新股東,南都產發集團以及其他持股人必須將這3.5%的股份出讓給新股東或其他股東。而南都物業作為受讓方,擬同意承繼南都產發集團因上述股東會紀要產生的權利、義務。

  南都物業在公告中表示,谷尚智能產權清晰,不存在抵押、質押及其他任何限制轉讓的情況。不過企查查顯示,目前子巨設備在谷尚智能的股權尚在凍結之中。

  原股東之間的案件糾紛尚未最終結清,南都產發集團就已先行拉南都物業入股,有業內人士猜測,「或許是因為項目‘等米下鍋’,而南都產發集團也拿不出錢來了。」

  物企重資產投資

  作為輕資產運營企業的物企,「主動」投資重資產,南都物業不是行業的唯一。

  今年7月初,金科服務也刊發了一則重資產收購公告,從母公司金科股份(000656.SZ)手中,收購一批託兒所物業以及相關業務公司,涉資總金額約3.14億元。

  其中的託兒所物業由金科集團開發,包括分別位於重慶、廣州及長沙的43項商業物業,總建築面積為10.82萬平方米。不過,還有部分是尚未取得建設竣工證書的項目。

  今年5月,寶龍商業(09909.HK)公告,擬從寶龍富閩手中,收購一幢位於上海寶山區的辦公大樓,代價8.68億元。而寶龍富閩正是寶龍商業控股股東寶龍控股的全資附屬公司。這筆關聯交易公告后的首個交易日,寶龍商業股價一路走低,開盤不到十分鍾就下挫超20%,當日收跌24.29%。

  「收回物業作自用存在實際困難,以及市場環境及資本市場近日波動。」不到一個月,寶龍商業叫停了這筆關聯交易。

  再往前追溯,去年9月,燁星集團(01941.HK)也曾出資2276萬元,從關聯方北京鴻坤偉業房地產開發有限公司手中,收購了北京大興區的一處物業資產作辦公室。

  ……

  物企背道而馳的由輕轉重,基本上都是與關聯方產生交易。因而,這類交易公告一旦刊出,都逃不脱反向「輸血」關聯方的質疑。

  從股份被質押到出資收購谷尚智能股權,作為獨立第三方物企的南都物業,也難逃成大股東「回血包」。

  而逮到南都物業一隻羊薅,則或許是因為其是韓芳手中最大的賺錢工具。今年前三季度,南都物業實現營業收入13.78億元,同比增長17.72%;歸母淨利潤1.43億元,同比增長5.64%。

  「此項交易尚須獲得股東大會的批准」,收購股權與項目后續投資,南都物業預算近4億。而數據顯示,截至2022年9月30日,南都物業的現金及現金等價物約為2.58億元。

責任編輯:王翔

風險及免責提示:以上內容僅代表作者的個人立場和觀點,不代表華盛的任何立場,華盛亦無法證實上述內容的真實性、準確性和原創性。投資者在做出任何投資決定前,應結合自身情況,考慮投資產品的風險。必要時,請諮詢專業投資顧問的意見。華盛不提供任何投資建議,對此亦不做任何承諾和保證。