熱門資訊> 正文
2022-07-15 17:34

雷遞網 雷建平 7月15日報道
微創腦科學有限公司(簡稱:「微創腦科學」,股票代碼為:「02172」)今日在港交所上市,成微創醫療拆分又一家旗下子公司上市。
微創腦科學此次發行價為24.64港元,募資淨額為2.78億港元。
微創腦科學的基石投資者包括Harvest International和新華網,一共認購890.5萬股,參與金額為2.19億港元。

其中,Harvest International認購593.7萬股,新華網認購296.8萬股。
微創腦科學開盤價為24.7港元,但很快就破發;截至目前,微創腦科學市值為143億港元。
微創腦科學總裁謝志永説,過去的十年,微創腦科學實現快速發展,開發多個創新技術和創新產品,形成一定商業化規模。公司上市,有助於形成更好的品牌效應,加速微創腦科學產業化進程,為腦血管疾病患者提供全解醫療方案。
年營收3.82億

微創腦科學是一家中國神經介入醫療器械行業的企業,致力於向醫生及患者提供創新解決方案。自首個產品於2004年獲得批准起,產品組合累積共有30款商業化產品及候選產品。
微創腦科學先后開發併產業化中國神經介入領域的第一款腦血管支架apollo™顱內動脈支架系統、首款顱內覆膜支架willis®顱內覆膜支架系統與國內首款血流導向裝置tubridge®血管重建裝置等8款自主研發的三類醫療器械產品。

腦卒中為中國疾病患者的主要死因,且有較高發病率,佔2020年總死亡率的20%以上。根據灼識諮詢的資料,於2020年,中國有80萬名出血性腦卒中患者、50萬名短暫性腦缺血發作(腦動脈粥樣硬化狹窄的常見症狀)患者及1.7百萬名急性缺血性腦卒中患者。
於中國,神經介入手術(於出血性腦卒中、腦動脈粥樣硬化狹窄及急性缺血性腦卒中的領域)的滲透率維持相對較低的水平,2020年三個領域的滲透率分別為9.1%、1.0%及2.7%。
招股書顯示,微創腦科學2019年、2020年、2021年營收分別為1.84億元、2.22億元、3.82億元;毛利分別為1.46億元、1.65億元、2.98億元。

微創腦科學2019年、2020年、2021年經營利潤分別為5410萬、5586萬、8472.9萬;股權持有人應占公司的盈利分別為4698萬、4529萬、2417萬。
可以看出,微創腦科學2021年營收增長73.3%,股權持有人應占公司的盈利同比下降46.7%。

微創腦科學2019年、2020年、2021年經調整利潤分別為4698萬元、4755萬元、9191萬元;經調整利潤率分別為25.6%、21.4%、24%。

截至2021年12月31日,微創腦科學持有的現金及現金等價物為5.93億元。
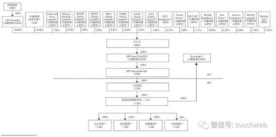
微創醫療持股55%
微創腦科學的執行董事分別為謝志永、王亦羣;非執行董事為彭博、王琳、吳夏;獨立非執行董事為胥義博士、張海曉博士、蕭志雄。

2021年11月,微創腦科學宣佈按計劃完成1.5億美元融資協議的正式簽署,引入包括中金資本、華翊資本等在內的多家投資者,此前認購微創腦科學™7000萬美元可轉債的貝霖資本在本輪進行轉股和跟投。
IPO前,微創醫療持股54.64%,中國微創投資管理持股10.64%,Stride and Strive持股1.96%,HNA持股為4.95%,Nectar Neuro持股為2%;

CICC Healthcare持股為4.57%,Biolink Limited持股為7.38%,Biolink NT持股為2.95%,HNMP持股為2.49%,HNNT持股為2.58%。
微創醫療資本動作頻頻
微創醫療(00853.HK)也是一家上市企業,2021年營收7.79億美元,較上年增長15%,其中,南美地區、EMEA地區(歐洲、中東和非洲地區)和北美地區實現收入分別同比增長29.9%、16.8%和6.7%。
得益於新產品收入貢獻及快速市場推廣,心臟瓣膜業務、神經介入業務和大動脈及外周血管介入業務收入分別同比提升93.2%、72.5%及45.6%。
在成熟業務板塊高速發展的同時,微創®集團積極佈局非血管介入、內分泌、康復醫療、運動醫學、輔助生殖、體外診斷(IVD)、皮膚及身體管理、五官科及消毒滅菌等新興業務領域。
這兩年,微創醫療旗下公司資本動作很多。

2021年11月,微創醫療拆分微創醫療機器人在港交所上市,發行價為43.2港元,募資淨額為14.57億港元。
2020年,微創®心通以投前估值11億美元完成新一輪融資,引入多家知名戰略投資者,融資金額達1.3億美元;
2020年,微創®骨科完成5.8億元融資協議簽署,引入多家知名戰略投資者;微創®心律管理簽署B輪融資約束性協議,融資金額達1.05億美元。
2022年4月,微創電生理過會,並向科創板遞交註冊,計劃募資10.1億。

其中,3.69億元用於電生理介入醫療器械研發項目,3億元用於生產基地建設項目,1.44億元用於營銷服務體系建設項目,2億元用於補充營運資金。
微創電生理也是第一家通過」標準五「上市的未盈利醫療器械企業。
所謂科創板第五套上市標準,是指發行人申請在科創板上市的,需預計市值不低於人民幣40億元,主要業務或產品需經國家有關部門批准,市場空間大,目前已取得階段性成果。醫藥行業企業如果按照標準五申報科創板,需至少有一項核心產品獲准開展二期臨牀試驗。