繁體
  • 简体中文
  • 繁體中文

熱門資訊> 正文

7-ELEVEn中國換帥,是迫不得已?

2022-06-15 13:54

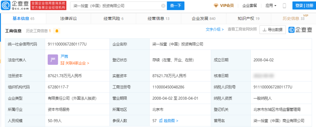
7-ELEVEn中國法人變更,正式完成換帥。

近日,企查查APP顯示,柒一拾壹(中國)投資有限公司(7-ELEVEn中國)法人變更。這意味着,嚴茜正式接替內田慎治,掌管7-ELEVEn中國。

此前,早在今年5月,即有消息傳出,原7-ELEVEn中國董事長內田慎治已返回日本,不再擔任董事長一職,新任董事長由原7-ELEVEn中國CFO、總經理嚴茜接棒。

在業內人士看來,7-ELEVEn作為國內第一家日系便利店,已在中國市場深耕30年,此次人事變動也是在情理之中。不過,未來一段時間,7-ELEVEn中國整體上或許不會有太大變化。

中國市場提速較晚

天眼查數據顯示,2021年全國新增便利店6.9萬家,相關企業年註冊總量突破25萬家,並呈現穩定增長態勢。外資品牌中,以7-ELEVEn、全家、羅森為代表的日系便利店品牌佔據主導地位。

而7-ELEVEn是最早進入中國市場的日系便利店品牌,不過中國大陸第一家7-ELEVEn並不是日本總部開設的。1992年,牛奶國際公司取得7-ELEVEn華南地區的特許經營權,在深圳開出全國首家門店。而柒一拾壹(中國)投資有限公司則成立於2008年,由株式會社7-11日本全資控股。

事實上,7-ELEVEn在中國的業務目前分別由三個公司管理,廣東地區由牛奶國際公司(現名「DFI零售集團)控股的子公司運營,上海、浙江地區由臺灣的統一超商公司負責,北京、天津、成都則由7-ELEVEn中國直接管理。

雖然進駐中國比較早,不過相比於另外兩家日系便利店,7-ELEVEn在中國的開店速度並不快,甚至顯得有點慢。

根據近幾年中國連鎖經營協會發布的《中國便利店TOP100榜單》來看,三大日系便利店品牌的排名正在逐年上升,而全家、羅森的排名一直領先7-ELEVEn。

其中,在2018年中國便利店TOP100中,全家排名第7位,羅森第9名,7-ELEVEn第10名。2020年中國便利店TOP100中,全家、羅森、7-ELEVEn的排名略有提升,分別為第5名、第6名和第8名。而在2021年中國便利店TOP100中,7-ELEVEn中國以2387家門店排名第7位,但依然不及第5名的羅森、第6名的全家。

有分析認為,其背后的原因或許與7-ELEVEn的經營策略以及開放加盟較晚有關。

進入中國大陸之初,7-ELEVEn沒有急於開店,在開放特許加盟后,加盟特許對象均是當地頗有實力與名氣的公司。同時,7-ELEVEn的加盟是以單店盈利高質量開店為前提,這也制約了其開店速度。

探索本土化發展

隨着市場的變化,近兩年7-ELEVEn中國開始發生了變化,逐步加快了開店步伐,並加快了在二三線城市的開店速度,不斷搶佔下沉市場。有統計顯示,2010年后,7-ELEVEn門店擴張的速度是之前的近6倍。

2019年8月,7-ELEVEn便利店攜手唐山金匙集團與北京莊典集團設立的獨資公司「7-11(唐山)有限公司」正式成立。這不僅是7-ELEVEn新增一個北方市場,且是北京、天津、西安之外的三線城市市場。

目前,7-ELEVEn用特許經營的方式,已分別與南京金鷹、武漢大東方、西安賽文提客、福州三福百貨、長沙友阿、鄭州三全等地方企業合作,進駐了多個城市。

不過在快速發展的同時,7-ELEVEn也暴露出一些問題。今年315,7-ELEVEn后廚亂象曝光,暴露出諸多食品安全問題,曾引發網友熱議。

近日,廣東茂名一家7-ELEVEn便利店出售的一款「便利店調酒」產品,被指廣告文案涉嫌擦邊,也引發了廣泛關注。

便利店資深人士曾向《聯商網》表示,國內7-ELEVEn暴露出的問題是可以預見到的,日本7-ELEVEn崇尚的經營理念,在國內生根發芽還需要很長的路要走。同時,高銷售額支撐高成本的模式在遇到經濟環境變化的時候盈利性會受到嚴峻的挑戰,店鋪盈利水平下降,必然導致店鋪管理水平下降,特別是重視利潤的加盟店。

如今,7-ELEVEn中國正在不斷下沉市場開疆拓土,在新任董事長的帶領下,7-ELEVEn中國會如何應對日益加劇的競爭?如何進行本土化發展?解決出現的問題?

近日,新任7-ELEVEn中國董事長的嚴茜在與中國連鎖經營協會常務副祕書長王洪濤對話時曾表示:7-ELEVEn希望能更快速地推進中國店鋪的發展,和供應鏈的搭建。但在這個過程中,不會盲目地追求數量,基於現有的特許經營模式,7-ELEVEn關注每家店加盟主的滿意度,比起店鋪數量,這是7-Eleven更為關注的內容。

此外,嚴茜還透露,對於7-ELEVEn在中國市場的拓展將從挖掘中國消費者的口味、加強數字化、注重便利和品質等方面發力。 

有分析認為,隨着本土便利店品牌的崛起,中國便利店市場競爭加劇,外資便利店的黃金時代已經過去,本土化便利店在商品和服務方面的優勢日益顯現,並有較大提升空間。未來,便利店市場也將迎來洗牌,在新任董事長的帶領下,7-ELEVEn中國將如何發展,還需要進一步觀察。

本文來自微信公眾號「聯商超市家」(ID:chaoshirenzhijia),作者:西泠雪,36氪經授權發佈。

風險及免責提示:以上內容僅代表作者的個人立場和觀點,不代表華盛的任何立場,華盛亦無法證實上述內容的真實性、準確性和原創性。投資者在做出任何投資決定前,應結合自身情況,考慮投資產品的風險。必要時,請諮詢專業投資顧問的意見。華盛不提供任何投資建議,對此亦不做任何承諾和保證。