繁體
  • 简体中文
  • 繁體中文

熱門資訊> 正文

鄧倫偷逃税,被追繳並罰款1.06億元,個人微博、抖音賬號被封,有品牌火速解約

2022-03-15 20:30

又一位知名藝人因為偷逃税被處罰。

據國家税務總局上海市税務局3月15日網站消息,近期,根據税收監管中的線索,上海市税務局第四稽查局經税收大數據進一步分析,發現鄧倫涉嫌偷逃税款,依法對其開展了全面深入的税務檢查。

經查,鄧倫在2019年至2020年期間,通過虛構業務轉換收入性質進行虛假申報,偷逃個人所得稅4765.82萬元,其他少繳個人所得稅1399.32萬元。

在税務檢查過程中,鄧倫能夠積極配合檢查並主動補繳税款4455.03萬元,同時主動報告税務機關尚未掌握的涉税違法行為。綜合考慮上述情況,上海市税務局第四稽查局依據《中華人民共和國個人所得稅法》《中華人民共和國税收徵收管理法》《中華人民共和國行政處罰法》等相關法律法規規定,按照《上海市税務行政處罰裁量基準》,對鄧倫追繳税款、加收滯納金並處罰款,共計1.06億元。

其中,對其虛構業務轉換收入性質虛假申報偷税但主動自查補繳的4455.03萬元,處0.5倍罰款計2227.52萬元;對其虛構業務轉換收入性質虛假申報偷税但未主動自查補繳的310.79萬元,處4倍罰款計1243.16萬元。日前,上海市税務局第四稽查局已依法向鄧倫送達税務行政處理處罰決定書。

上海市税務局第四稽查局有關負責人表示,税務部門將持續加強對文娛領域從業人員的税收監管,並對協助偷逃税款的相關經紀公司及經紀人、中介機構等進行聯動檢查,依法嚴肅查處涉税違法行為,不斷提升文娛領域從業人員及企業的税法遵從度,進一步營造法治公平的税收環境。

鄧倫被提醒督促后仍整改不徹底

就鄧倫涉嫌偷逃税問題,上海市税務局第四稽查局有關負責人就案件查處情況回答了記者提問。

問:為什麼上海市税務局第四稽查局要對鄧倫進行檢查?

答:上海市税務部門高度重視並持續加強文娛領域税收監管,不斷加大日常監管力度,深入開展税收綜合治理,提示輔導相關從業人員依法納税,並督促整改。在去年以來開展的文娛領域税收綜合治理中,通過税收大數據分析發現,鄧倫存在涉嫌偷逃税問題,且經税務機關提醒督促仍整改不徹底,遂依法依規對其進行立案並開展了全面深入的税務檢查。

問:鄧倫的違法事實有哪些?

答:2019年至2020年期間,鄧倫虛構業務將個人勞務報酬轉換為企業收入進行虛假申報,偷逃税款,同時存在其他少繳税款的行為。

我局依據《中華人民共和國個人所得稅法》《中華人民共和國税收徵收管理法》等規定,依法認定其偷逃税款4765.82萬元,其他少繳税款1399.32萬元。

問:請問本案中不同的罰款倍數是如何確定的?

答:《中華人民共和國税收徵收管理法》第六十三條第一款規定,對納税人偷税的,由税務機關追繳其不繳或者少繳的税款、滯納金,並處不繳或者少繳的税款百分之五十以上五倍以下的罰款。我局堅持依法依規、過罰相當的原則,充分考慮了違法行為的事實、性質、情節和社會危害程度等因素對鄧倫進行處罰。一方面,對其主動糾錯的偷逃税等違法行為依法從輕處理。鄧倫積極配合檢查並主動補繳税款,同時主動報告税務機關尚未掌握的涉税違法行為,具有主動減輕違法行為危害后果等情節。

我局依據《中華人民共和國税收徵收管理法》《中華人民共和國行政處罰法》等有關規定,按照《上海市税務行政處罰裁量基準》,對鄧倫虛構業務轉換收入性質虛假申報偷税但主動自查補繳税款部分處0.5倍罰款。另一方面,對其未能糾錯的違法行為依法嚴肅處理。鄧倫虛構業務轉換收入性質虛假申報偷税且未主動自查補繳部分,性質惡劣。我局依據《中華人民共和國税收徵收管理法》《中華人民共和國行政處罰法》等有關規定,按照《上海市税務行政處罰裁量基準》,對其予以從重處罰,處4倍罰款。

鄧倫致歉,微博被封,有品牌火速宣佈解約

公開信息顯示,鄧倫為中國知名演員,出生於1992年,代表影視作品包括《香蜜沉沉燼如霜》《歡樂頌2》等,並曾參加綜藝《極限挑戰第六季》等,目前微博粉絲超4000萬。

啟信寶顯示,鄧倫名下有2家公司,分別為鄧倫(上海)影視文化工作室和舟山鄧倫影視文化工作室,2家工作室均為鄧倫個人獨資企業,分別成立於2016年和2018年,註冊資本分別為100萬元及10萬元。

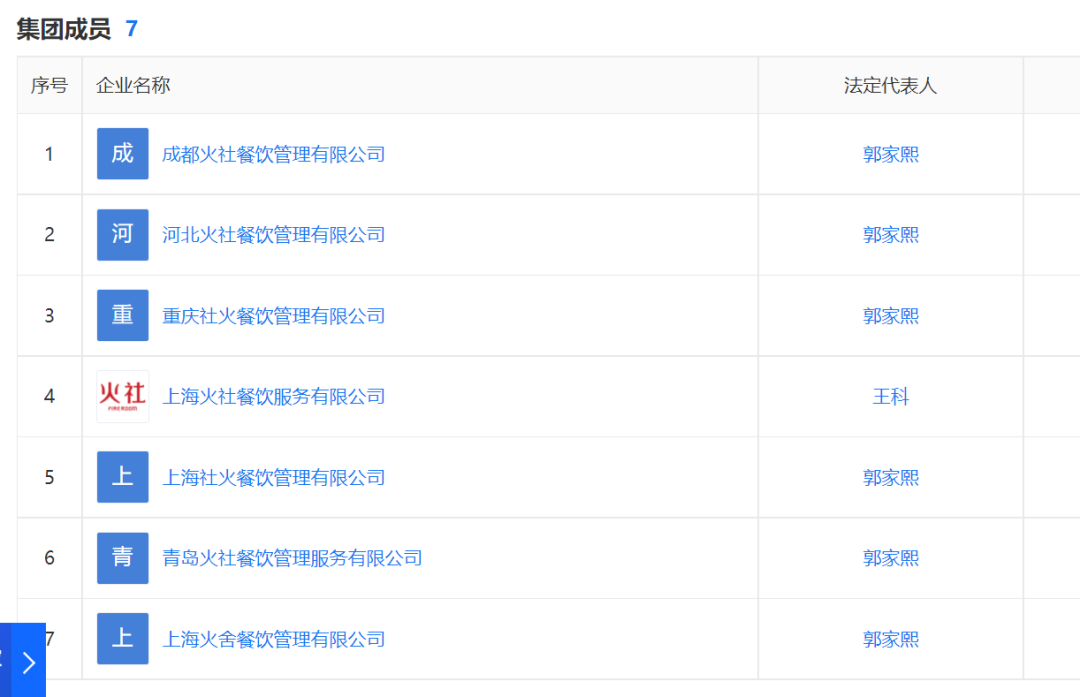
此外,鄧倫還和發小們共同創立了火鍋品牌「火社火鍋」。工商資料顯示,河北火社餐飲管理有限公司成立於2020年1月,法定代表人及執行董事、經理均為郭家熙。不久,該公司投資成立成都火社餐飲管理有限公司。隨后,成都火社公司又投資成立重慶社火、上海社火、青島火社、上海火舍幾家公司。2021年9月,同樣由郭家熙擔任法定代表人的北京火舍餐飲管理有限公司成立。值得一提的,上述火社火鍋關聯公司和鄧倫並無直接關聯。

根據報道,鄧倫目前為多個品牌代言人,有寶格麗品牌代言人、雪花秀亞太地區代言人、君樂寶簡淳品牌代言人、歐萊雅彩妝品牌代言人、聯合利華中國區洗護發代言人,清揚淨爽代言人、桂格燕麥品牌代言人、RogerVivier羅傑維維亞品牌代言人等。

目前已有云米、久久丫等品牌與鄧倫終止合作。菜鳥裹裹官方微博發佈聲明稱,其與鄧倫已於2021年8月結束所有合作。

3月15日下午,鄧倫通過其個人微博發佈致歉信:在配合這次税務部門檢查的過程中,我已深刻自省,深刻認識到自己的錯誤,我接受税務機關的一切決定,我願意承擔相關一切責任及后果,並且一如既往地積極努力工作,疫情當前佔用公共資源深深地表達歉意。

隨后, 小編查詢發現,鄧倫個人微博、抖音號個人賬號,以及鄧倫工作室微博官方賬號相繼被封。

值得一提的是,被封前,鄧倫個人微博粉絲數達4030萬,微博個人簡介是: 好好做人,認真演戲!

本文來自微信公眾號「每日經濟新聞」(ID:nbdnews), 編輯:何小桃 盧祥勇 王嘉琦 杜恆峰,36氪經授權發佈。

風險及免責提示:以上內容僅代表作者的個人立場和觀點,不代表華盛的任何立場,華盛亦無法證實上述內容的真實性、準確性和原創性。投資者在做出任何投資決定前,應結合自身情況,考慮投資產品的風險。必要時,請諮詢專業投資顧問的意見。華盛不提供任何投資建議,對此亦不做任何承諾和保證。