熱門資訊> 正文
2022-02-08 16:19
炒股就看金麒麟分析師研報,權威,專業,及時,全面,助您挖掘潛力主題機會!
來源:市值風雲
$Playtika Holding(PLTK.US)$是一家遊戲公司,主打產品是棋牌社交類手遊。2010年,該公司在以色列成立。
2016年,$巨人網絡(002558.SZ)$實控人史玉柱集結了馬雲旗下的雲峰基金、中國泛海控股集團、中國民生信託、鼎暉投資以及弘毅投資等多家投資機構,斥資44億美元,從美國$凱撒娛樂(CZR.US)$手中收購了Playtika。
看似風風光光的重金收購,而實際上Playtika只是史玉柱用來包裝進上市公司的一個棋子。
此后數年史玉柱一直想將Playtika裝入巨人網絡,來提振上市公司業績,但由於監管原因均未成功,Playtika轉而奔赴美上市。2021年1月,Playtika在納斯達克上市。目前,史玉柱的巨人投資有限公司和巨人網絡共計持有Playtika約60%的股權。
今年2月3日,做空機構Grizzly Research發表了Playtika的做空報告。質疑其上市前將現金資產剝離並承擔起了大量債務,其業務質量低下並且面臨巨大的監管風險,以及面臨一定的股權質押風險等問題。
2月3日做空報告發布后,當天收盤公司股價跌去約11%。下面就讓風雲君帶大家解讀一下這個報告。
一、掏空現金、揹負債務上市,大股東還要不斷套現
在Playtika的招股説明書中,我們注意到一筆截至2020年9月高達22億美元的債務。遊戲公司背鉅額債務是少見的,並且多年來Playtika擁有相對較好的現金流。
而2018年和2019年,Playtika向其控股股東Playtika Holding UK共計分紅了28億美元,屬於典型的上市前突擊分紅。

通過公司的IPO所有權結構圖,我們看到Playtika Holding UK是由Alpha Frontier全資控股,Alpha是由巨人投資有限公司間接控制,而巨人投資有限公司又由史玉柱控制。那麼這28億美元是分到了控股股東手里了。

當一家公司在IPO前不久將大量現金分配給內部人士時,這不是一個好的跡象。
2020年9月,巨人網絡公告公佈了Alpha Frontier和Playtika更詳細的所有權結構。需要提醒的是,這是在Playtika上市之前,那時Playtika Holding UK擁有Playtika公司96.5%的股份。

史玉柱和他的女兒史靜共同控制了Alpha Frontier約75%的股份,他們是28億美元分紅的主要受益者。我們還發現,分紅的部分來源是2019年借的銀行貸款,最終導致了Playtika資產負債表上22億美元的債務。
Playtika公司內部人士的鉅額薪酬也是由Playtika在IPO前不久通過承擔債務來支付的。
然而非常諷刺的是,Playtika在其招股説明書中談及未來股息政策時明確表示:「預計在可預見的未來不會支付任何現金股息。」
真是一隻鐵公雞啊!如果該公司一直需要保留收益來擴大業務,為什麼它要在2018年和2019年借入超過20億美元,向控股股東進行28億美元的分紅呢?

而且,Playtika是有機會償還部分債務的,或通過2021年初在美國上市籌集更多現金,以降低業務風險。然而,IPO並不是增發新股,而是出售公司現有股份。

也就是説,Playtika並沒有在IPO中發行新股來償還鉅額債務,而是再次選擇讓內部人士進行套現。Playtika上市出售股票獲得的21.6億美元中,僅有約5億美元流入上市公司主體,而控股股東 Playtika Holding UK套現了16.6億美元。
2022年1月24日,Playtika發表聲明,最大股東正在進一步計劃套現,當日股價再次暴跌了15%以上。

二、在線賭場遊戲面臨監管風險
Playtika的實控人史玉柱曾4次試圖將Playtika併入A股公司巨人網絡。
中國證監會曾對巨人網絡所要收購的Playtika旗下游戲Slotomania,WSOP和House of Fun涉嫌賭博問題提出質疑。

巨人網絡的回覆函中表示,Playtika的遊戲不從事賭博活動,主要是因為遊戲玩家沒有權利獲得任何有價值的物品。然而在中國證監會的后續調查中,提出了更詳細的問題。

后來,巨人網絡並沒有徹底回答后續的問題,而是在2021年7月13日宣佈終止交易。

巨人網絡表示協議終止的原因是「相關的交易太複雜」,但我們認為,真正的原因仍然是,中國的監管機構仍認為Playtika的部分業務是非法賭博業務。
Playtika在中國的多次收購嘗試都失敗了,因為他們的遊戲具有「與賭博類似」的性質,我們在美國也觀察到了類似的擔憂。
Playtika的遊戲在美國也遇到了很多法律問題。2020年8月,Playtika和凱撒娛樂達成了和解協議。為此,Playtika支付了3800萬美元,並同意採取某些措施,防止人們在網絡遊戲上過度消費。

我們認為,這只是美國監管問題的一個開始,美國其他州會參與進來,而Playtika是主要目標。在我們看來,Playtika是業內最糟糕的運營商之一。
三、股權質押凍結風險
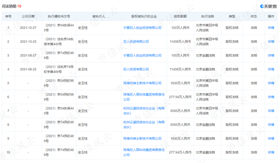
由於大量法律訴訟,史玉柱的資產中約有2億元人民幣被凍結。

這筆凍結的股權關係鏈是這樣的,史玉柱擁有巨人投資近100%股權,巨人投資通過巨堃網絡控制了Playtika的大部分股份。

而巨人投資公司已將其上海巨堃網絡51%的股權分兩部分質押給了民生銀行。第一次質押(24%股權)發生在2019年12月12日,第二次質押(27%股權)發生在2021年10月11日。

基於上述股權關係,相當於19.6%的Playtika股份被間接抵押給了銀行。
如果Playtika股價發生下跌,將會有極大的質押風險。我們認為,大股東的間接股份質押給投資者增加了一層風險。
四、儘管進行了持續的收購,盈利能力仍下降
除了監管風險外,股東們減持套現的另一個原因是公司的業務能力下降。IPO結束后,Playtika花了超過10億美元來收購其他遊戲公司。自2018年以來,Playtika已經收購了4家公司。收購其他遊戲似乎是其戰略的核心。

Playtika的收購也是有套路的。Playtika收購的公司在收購之前用户基礎增長。收購后,營收和盈利能力迅速上升,而用户體驗和用户參與的興趣似乎在迅速下降。
儘管Playtika採取了激進的資本運作策略,但它無法真正實現收入增長,同時不得不持續投入大量現金進行收購。

但自2020年以來,PLTK的季度收入一直停滯不前。這可能意味着一件事,有機增長正在下降得更快。PLTK一定是在努力維持其傳統遊戲的收入。

此外,2021年第三季度報告中,Playtika降低了2021年的預期收入和EBITDA的指引,還推迟了其首次分析師日。我們認為,這表明該公司的業務出現了不確定性。
此外,我們認為投資者應該關注這家公司產生的自由現金流。由於該公司不斷進行收購作為其商業戰略的一部分,投資者應該減去該公司為收購而支付的款項,以計算更準確的自由現金。
自2017年以來,Playtika似乎總共賺了20億美元的自由現金流。然而,除去收購所支付的費用,公司實際的自由現金流只有9.75億美元。

五、估值計算
我們找到了幾家Playtika的可比公司,如DoubleDown Interactive Co.,Ltd.(DDI.O),SciPlay Corporation(SCPL.O),Zynga Inc.(ZNGA.O).
基於Playtika數十億美元的淨債務,我們對其企業價值/營收和企業價值/EBITDA的估值分別為3.4、8.6,而其所在行業的估值中位數分別為2.2和7.1。Playtika明顯高估。

並且市場通常給從事在線賭場和社交遊戲業務的公司較低的市盈率估值。我們認為,公司手機遊戲的「積極盈利策略」使得遊戲的生命周期較短,併成為不可持續和不穩定的業務。
根據企業價值/營收和企業價值/EBITDA的中位數,我們計算出Playtika的目標價格為每股9.36美元,較當前交易價格有44.9%的下跌空間。

結語
Playtika上市前明顯的套現操作讓人質疑,並且公司面臨着巨大的監管風險,股權質押風險等問題。中國監管機構多次拒絕巨人網絡對Playtika的併購,但美國交易所卻欣然接受了該公司。為此,風雲君想給中國監管機構點個贊。