熱門資訊> 正文
2025-10-31 21:10
思摩爾國際(06969.HK)發佈公告,於2025年10月28日,公司認購了由摩根士丹利金融有限責任公司發行的本金金額為2000萬美元(相當於約1.56億港元)的票據。於2025年10月31日,公司認購了由摩根士丹利金融有限責任公司發行的本金金額為6000萬美元(相當於約4.68億港元)的票據。認購事項由集團現有可動用現金儲備及自由現金流撥付資金。
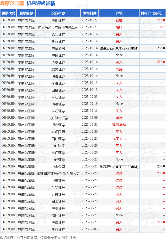
截至2025年10月31日收盤,思摩爾國際(06969.HK)報收於13.09港元,下跌1.87%,成交量2544.27萬股,成交額3.31億港元。投行對該股的評級以買入為主,近90天內共有15家投行給出買入評級,近90天的目標均價為23.64港元。華創證券最新一份研報給予思摩爾國際強推評級,目標價21.9港元。
機構評級詳情見下表:

思摩爾國際港股市值826.15億港元,在電子製造行業中排名第3。主要指標見下表:

以上內容為證券之星據公開信息整理,由AI算法生成(網信算備310104345710301240019號),不構成投資建議。