熱門資訊> 正文
2025-10-21 17:22
國泰海通發佈研報稱,思摩爾國際(06969.HK)三季度經營情況驗證行業景氣度上行趨勢,考慮公司股權激勵費用影響,上調公司盈利預測,預計2025-2027公司歸母淨利潤為10.3/19.4/25.4億元,維持「增持」評級。參考行業平均,考慮公司作為加熱不燃燒產業鏈核心供應商,通過長期研發投入實現深厚技術護城河,以及行業廣闊成長空間、公司頭部品牌客户英美菸草新一代加熱不燃燒產品力迭代、市佔率持續提升賦予的估值溢價,給予公司2025年PE 110.0X,對應目標價19.87港元(按照1港元=0.92元人民幣折算)。
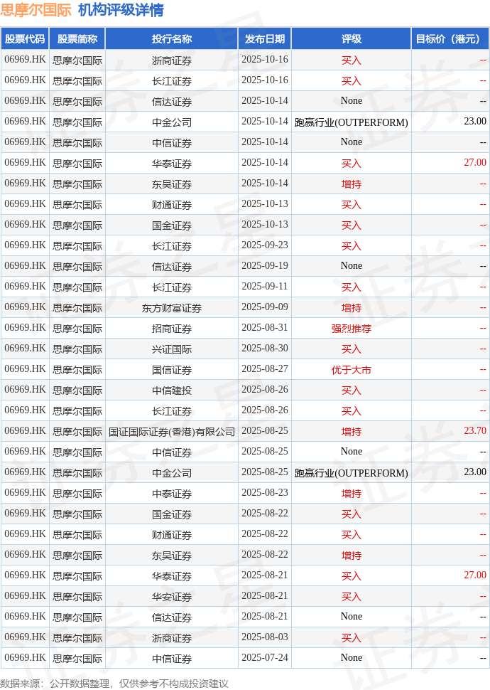
截至2025年10月21日收盤,思摩爾國際(06969.HK)報收於15.05港元,下跌3.22%,成交量1423.6萬股,成交額2.18億港元。投行對該股的評級以買入為主,近90天內共有15家投行給出買入評級,近90天的目標均價為24.74港元。浙商證券最新一份研報給予思摩爾國際買入評級。
機構評級詳情見下表:

思摩爾國際港股市值963.02億港元,在電子製造行業中排名第2。主要指標見下表:

以上內容為證券之星據公開信息整理,由AI算法生成(網信算備310104345710301240019號),不構成投資建議。