热门资讯> 正文
2025-11-04 11:18
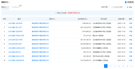
天眼查信息显示, 碧桂园 地产集团有限公司现存57条被执行人信息,被执行总金额已超过57亿元。
据天眼查最新数据,碧桂园地产集团有限公司近日新增3条被执行人信息,执行标的合计3.8亿余元。被执行人还包括龙南碧桂园房地产开发有限公司、增城市碧桂园物业发展有限公司等多家关联企业。执行法院为江西省赣州市中级人民法院和山东省济南市中级人民法院。

这是碧桂园地产集团短时间内又一次被列为被执行人。此前,该公司于10月28日被江苏省南通市中级人民法院执行4.2亿余元,而今年7月1日也曾新增两则被执行人信息,执行标的合计8.3亿余元。
天眼查风险信息显示,截至目前,碧桂园地产集团有限公司现存57条被执行人信息,被执行总金额超57亿元。此外,该公司还存在多条限制消费令、失信被执行人(老赖)及终本案件信息。