热门资讯> 正文
2025-10-22 13:52
今日(10.22),大盘低开后缩量震荡,港药受市场情绪影响下挫,尽管盘中迎重磅出海消息面利好仍录得较大幅回调。100%创新药含量的港股通创新药ETF(159570)跌超2%,盘中成交额超16亿元!资金面上,近20日净流入超13.5亿元!截至10月21日,港股通创新药ETF(159570)最新规模超209亿元,规模和流动性持续领跑同类!

消息面上,据信达生物10月22日早间公告,其与武田制药达成全球战略合作,旨在加速推进信达生物新一代IO及ADC疗法开发。本次合作包括,两款后期在研疗法IBI363及IBI343,以及一款早期研发项目IBI3001的选择权。
根据协议,信达生物将获得12亿美元的首付款,包括以认购事项方式获得1亿美元的战略股权投资。信达生物亦有权获得合计最高可达102亿美元的潜在里程碑付款,本次合作交易总金额最高可达114亿美元。信达生物还将获得每个候选药物在大中华区以外的潜在销售分成,除IBI363在美国市场双方将采用利润损失共担模式。
近期,创新药再迎BD热潮。仅10月16日、17日两日,就公告了5项BD,总金额达42.66亿美元。据西南证券统计,10月16日至17日两天内,翰森制药(首付款0.8亿美元、总金额15.3亿美元)、普瑞金(首付款1.2亿美元、总金额16.4亿美元)、维立志博(首付款0.2亿美元、总金额10亿美元)、奥赛康(首付款0.07亿美元、总金额0.96亿美元)、海和药物(未披露)分别就CDH17 ADC、CAR-T 编辑疗法、BDCA2/TACI 双特异性融合蛋白、VEGF/ANG-2 双抗、PI3Kα达2.27亿美元,总金额达42.66亿美元(来源:西南证券20251018《创新药BD持续落地》)。
截至13:34,港股通创新药ETF(159570)标的指数成分股多数飘绿:受消息面利好,信达生物高开低走翻绿,午后再度翻红涨0.63%,再鼎医药微涨;下跌方面,石药集团跌超5%,中国生物制药、翰森制药跌超3%,百济神州跌超2%,康方生物、三生制药跌超1%。

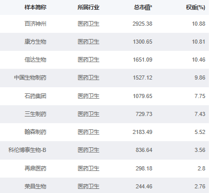
注:成分股仅做展示,不作为个股推介。
【机构:创新药出海节奏恢复】
华鑫证券表示,10月以来,国内落地多个创新药的对外授权项目,创新药对外授权的节奏已恢复。根据医药魔方数据,截至2025年8月,中国License-out出海交易数量已达93笔,占全球交易数量32%,License-out首付款总额已达43亿美元,总金额848亿美元,首付款与总金额均已超过去年全年总额,并有望创下近十年新高。
从BD的阶段分析,MNC依然青睐于中国早期研发资产,II期临床前数量占比更高,而市场期待已久的双抗,ADC等热点领域,2025年Q3仍没有重磅BD落地。实际在过去5年,超过3亿元美元首付的重磅BD在全球交易中仍是少数,在重磅交易落地前,实际需要经历了漫长的临床数据读出和商务谈判等诸多环节,而早期I期和临床前管线,MNC决策更为迅速。
中国创新药企业的效率优势将继续保持,即使面临贸易等不确定因素,中国创新出海的交易占比将继续提升,而在重磅交易上,其落地节奏具有较大的不确定性,是海外MNC优中选优的过程。以目前中国企业在双抗、ADC,小核酸等建立的技术优势,未来重磅交易依然值得期待。
(来源:华鑫证券20251019《创新药对外授权节奏有望恢复》)
【四季度BD集中,关注ESMO大会及三季报】
国金证券指出,由于海外MNC重磅单品陆续迎来专利悬崖,通过BD引进管线弥补收入缺口的战略未来有望持续。分析历年来全球BD事件,重磅BD交易落地集中在年底。随着10月起ESMO会议等一系列权威学术会议召开,BD事件更加值得期待。继续看好中国创新药全球竞争力提升,自身经营改善以及BD合作密集落地的产业趋势。
(来源:国金证券20250927《创新药趋势向上无惧关税》)
ESMO大会于10月17-21日召开,多个国内创新药企重磅口头报告已披露(LBA),创新药板块短期内可关注重要管线的大会临床数据。此外,三季报临近,受益于国内创新药投融资数据边际改善,BD交易持续活跃以及下游创新药技术迭代与细分赛道高景气(ADC、双抗、GLP-1等),继续看好创新药主线。
(来源:国金证券20251011《关注ESMO大会和三季报》)
【关注中国硬核创新药力量,新质生产力代表,认准港股通创新药ETF(159570)】
港股通创新药ETF(159570)标的指数100%布局创新药!截至9月30日,前十大成分股权重高达71.83%,高纯度浓缩港股通创新药精华!

来源:国证指数官网,截至2025/9/30。成分股仅做展示,不作为个股推介。
港股通创新药ETF(159570)标的指数是弹性更高的创新药,截至7月末,2025年内涨幅超109%,港股医药类指数领先!

底层资产是港股,可以T+0交易!
关注中国硬核创新药力量,新质生产力代表,认准港股通创新药ETF(159570),场外联接(A类:021030;C类:021031)!
风险提示:基金有风险,投资需谨慎。文中个股仅作为指数成份股客观展示,不代表任何投资建议。港股通创新药ETF(159570)属于中等风险等级(R3)产品,适合经客户风险等级测评后结果为平衡型(C3)及以上的投资者。本文中的任何观点、分析及预测不构成对阅读者任何形式的投资建议。本基金投资范围包括港股,会面临因投资环境、投资标的、市场制度以及交易规则等差异带来的特有风险。
港股通创新药ETF(159570)标的指数为国证港股通创新药指数,该指数近5个完整年度(2020-2024)的涨幅分别为88.80%、-21.59%、-25.60%、-22.80%、-10.50%。