热门资讯> 正文
2022-12-02 11:34
本文来源:消费者报道 作者:张德荣 陈梓庆
以同城即时配送为卖点的闪送平台,近期的发展却不太及时。
《消费者报道》注意到,有多位消费者投诉闪送存在丢件、快件损坏、赔付和退款不及时等问题。与此同时,也有骑手质疑闪送存在乱收费、接单难、保证金退款时间长等问题,也有商家反映自己要承担快件损坏的部分损失。
公开信息显示,闪送平台于2014年3月上线,曾经由周杰伦担任代言人。截至2021年3月的1.25亿美元的D2轮融资,闪送已经获得超过3.3亿美元的融资。闪送官方数据显示,目前该企业的即时配送业务已经覆盖全国超过260座城市,拥有超过200万名骑手。
然而,一边是同城快递的消费风口,一边是日常运营中出现的各种乱象,加上美团、达达、蜂鸟等品牌带来的竞争压力,闪送的的竞速之路并不顺坦。
针对闪送在日常消费环节、骑手管理等方面的问题,《消费者报道》向闪送方面发送了采访函进行问询,截至发稿前未获回复。

▲来源:闪送官方微博
消费者和骑手成维权主力
截止11月10日,在黑猫投诉平台上,闪送累计收到近3000条投诉,主要涉及消费者投诉物品丢失或损坏、骑手投诉乱扣费和接单难、商家投诉损坏的商品未能获得照价赔偿等问题。

▲截图自黑猫投诉
《消费者报道》采访了部分投诉闪送的消费者。杨先生向《消费者报道》表示,自己在11月10日下午通过闪送快递收取多台苹果手机,不料其中一台苹果手机不翼而飞。

“因为收的手机比较多,我收货的时候没发现,后来才发现其中一台手机丢了,这台丢了的手机包装还在,不过被人为地拆开了。”杨先生表示,

▲杨先生拍下的闪送骑手照片(消费者供图)
随后,杨先生与闪送客服联系,要求闪送作出相应的赔偿。“闪送客服人员告诉我,是骑手把手机拿走了,闪送只能提供代金券作为赔偿,如果要追究骑手的法律责任,需要我自己去追究,他们会配合。”杨先生认为,自己通过闪送平台收取快件,物品丢失后闪送应该承担赔偿责任,而不是把责任都推给骑手。
除了消费者,部分商家也走上维权之路。今年11月初,在西安经营烘焙蛋糕店的阿峰(化名),通过闪送平台向顾客配送一个生日蛋糕。不过,闪送骑手在配送过程中造成蛋糕损坏,顾客拒收蛋糕。

随后,阿峰联系闪送平台处理退款和赔偿事宜。“闪送平台同意退还配送费,不过蛋糕没有按照实际价值赔偿,我还要给顾客赠送礼品并道歉。”阿峰说道。
骑手造成物品损坏,阿峰却要自己承担损失,还导致店铺声誉受损。“我多次和闪送客服沟通,对方表示只能提供这样的赔偿方案,而且退还的闪送费也算到赔偿金额里面去,我觉得非常不合理。”
与此同时,闪送骑手的质疑声也层出不穷。一位要求不具名的闪送骑手表示,由于自己有一段时间没有完成订单,他发现闪送平台多次从自己账户中扣取3元的“账户管理费”。该骑手收到闪送平台发来的短信,表示“账户管理费”在“完单后将不再进行扣取”。

此外,还有闪送骑手投诉自己遇到接单难、购买装备后退款难、被闪送平台扣取大额费用以赔偿消费者或商家的问题。有骑手表示,自己被扣去的赔偿费用比收到的配送费高出几倍。
此前,也有媒体报道消费者购买苹果手机等贵重物品,闪送骑手在运输途中造成物品损坏,不过消费者却没有获得与物品价值相匹配的经济赔偿。
此外,还有网友表示自己并未注册成为闪送骑手,却多次且密集地收到取件短信,怀疑是个人信息泄露和恶意刷单所为,也映射出其内部管理混乱,经营制度不完善的现状。
扩张与乱象并存
公开信息显示,闪送平台于2014年3月上线,截至2021年3月的1.25亿美元的D2轮融资,闪送已经获得超过3.3亿美元的融资。2018年8月,周杰伦一度成为闪送的品牌代言人。
闪送官方数据显示,目前该企业的即时配送业务已经覆盖全国超过260座城市,拥有超过200名专业骑手,海底捞、必胜客、招商银行等头部品牌均有通过闪送平台提供即时配送服务。
然而,不断扩张的背后,闪送也面临着各种问题和乱象。
闪送作为最早布局同城即时配送的品牌,没有太大的转型阻力,不过在行业内要与美团、达达、蜂鸟等品牌直接竞争,压力不可谓不小。
在同一工作日中午12:01分至12:03分左右,《消费者报道》分别使用闪送和美团跑腿服务,选择同样的寄件地址、收件地址以及物品类型和重量,可以看到闪送的订单预计到达时间要早于美团跑腿,不过预计费用为23元,比美团跑腿的订单高出5元。如果选定指定骑手和部分交通方式,价格还会更高。

▲闪送(左)与美团跑腿(右)价格、送达时间对比
可见,相比部分竞争对手,闪送的价格并无太多优势可言,在性价比上还有很大的提升空间。虽然配送时间更短,不过其中也带来了交通事故等风险。
为实现平均一小时送达快件的宣传,闪送的骑手只能争分夺秒,如果遭遇交通事故,却可能因外包的劳务关系而面临赔偿无门的问题。
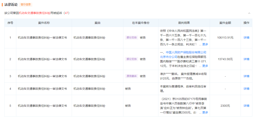
《消费者报道》注意到,在天眼查平台可以搜索到多条关于闪送的法律诉讼,其中多条诉讼涉及机动车交通事故责任纠纷,闪送对骑手的安全和财产权益的保障是否到位引人担忧。

▲闪送有多条关于机动车交通事故的法律诉讼(来源:天眼查)
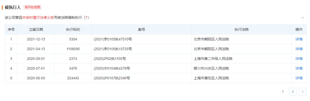
此外,天眼查数据显示,闪送关联公司——北京同城必应科技有限公司多次因未按时履行法律业务而被法院采取强制执行措施。2021年4月13日,北京市朝阳区人民法院对北京同城必应科技有限公司采取强制执行措施,闪送CEO薛鹏被限制消费。

▲闪送多次被法院强制执行(来源:天眼查)
在APP的使用体验上,闪送也不尽如人意。截止2022年11月10日,闪送APP在华为应用市场上的评分仅为2分,评论区里不乏大量差评,主要涉及拉新优惠不兑现、骑手接单难等问题。

▲闪送APP收获大量差评(来源:华为应用市场)
目前,同城即时配送基本上形成了三股力量,正在形成三足鼎立之势。一类是以互联网电商为基础的美团跑腿、蜂鸟即配、达达快送;一类则是靠物流发家的顺丰同城急送等;还有一类针对垂直细分场景的物流需求而生,例如点我吧、闪送、uu跑腿等。众多玩家争雄之下,闪送的比较优势并不明显,急需找到新的发展落点。
从2021年3月的D2轮融资之后,闪送不再是资本逐利的首选,未再获得新的融资,某种程度上正在经历资本寒冬,这也折射出闪送在强敌环伺的市场中所遇到的瓶颈。
同城即时物流竞争白热化
从最初的寄递大件物品到“万物皆可快递”,小件化的市场对快递行业提出了更加精细化的消费需求,快递时长的下限也不断降低。
艾媒咨询相关报告显示,疫情加速居民消费线上化,线上下单、线下送达成为重要配送方式,在供需双方的共同推动下,同城即时配送迎来爆发式增长。根据测算,2021年中国零售O2O渗透率约为1.6%,预计2025年达到7.8%,届时零售规模将突破1.2万亿元。
在此环境下,无论是闪送等垂直平台,还是顺丰等传统快递企业,或者是新晋的互联网巨头,都在布局同城即时配送业务,在最后一公里的快递赛道上竞争。然而,更快的送达时间和覆盖范围更广的配送范围,也使物流行业本身的通病更加凸显。
值得注意的是,同城即时配送实际上是外卖配送的拓展和延伸,是一个集消费者、骑手和商家的博弈场。在更多地区实现快速配送的同时,也不可避免地产生各种消费纠纷和售后问题,这其中也还会出现商家与平台分成、骑手与平台分成等利益分配问题。

▲闪送骑手招募条件(来源:闪送官方网站)
另外,即时配送平台普遍以较低的门槛大量招募骑手,并在此过程中收取培训费、装备费、保证金等费用,在实现收益之余却催生了骑手素质参差不齐、骑手权益难以充分保障等乱象,这些问题在闪送身上也不可避免地存在。
针对闪送在日常消费环节、骑手管理等方面的问题,《消费者报道》向闪送方面发送了采访函进行问询,截至发稿前未获回复。
知名法律博主@谈典看法、上海中联(成都)律师事务所律师郭小明指出,由于在接件、寄递、签收等环节缺乏标准化的核验机制,各方权利和义务不够明晰,同城即时配送容易在对交寄物品内容及状况的核验、运送过程中的损毁和丢失等环节出现纠纷。
“消费者在使用同城即时配送服务时,应注意快递服务合同中关于丢件、保价的相关约定,在交寄、签收时注意核验寄递物品内容和状况,确保没有问题后再签字确认。如遇侵权,可在保存相关证据后,与快递公司沟通协商,可以向消协投诉,也可以向人民法院提起诉讼。”郭小明表示。