热门资讯> 正文
2022-04-09 14:13
外媒引述知情人士透露,物联网SaaS货运公司G7考虑最早今年进行香港IPO,可能筹集约5亿美元,折合约39亿港元。
知情人士称,G7与中金公司、花旗集团和摩根士丹利就建议的股票发行进行合作。据报,讨论仍在进行中,规模和时间等融资细节可能有变。
据wind企业库,北京汇通天下物联科技有限公司作为一家持续创新的物联网科技公司,G7基于行业独有的物联网技术平台,向大型物流企业和数以万计的车队提供车队综合管理与服务解决方案,覆盖安全、保险、结算、金融、智能装备等车队运营全流程。
据统计,G7是服务于中国公路货运行业的规模最大的企业服务公司。过去三年,G7将业务从车队管理等订阅服务,拓展到结算、保险、装备等交易服务,复购与增购收入持续增长。
G7 定位为智慧物联网平台,创始人兼CEO为翟学魂,公司成立于2011年,2013年,与沃尔沃,斯堪尼亚,东风,重汽等中外卡车制造商的发动机实现连接,获得油耗、车速、里程、驾驶行为等数据能力;2014年陆续成为顺丰、德邦、申通、韵达、亚马逊、安能物流等知名企业的 SaaS 服务商;2016年依托G7物联网平台,向客户提供油品、ETC、信贷等衍生服务2018年发起创办自动驾驶卡车技术与运营公司嬴彻科技,并获得了包括宁德时代、蔚来等明星资本加持;截至2022年1月,G7累计连接车辆超过200万辆,服务货运经营者近5万家;每日跟踪超过1.7亿公里的卡车运行轨迹,日均上传平台数据超过7.8TB。

翟学魂称,G7是少数做了极大模式跨越还幸存的公司,“我们不能回避跨界,产业的数字化就是要跨界。怎么实现?就是必须是人和人的碰撞,这种碰撞包括技术、产品思维等方面的交流,这个组织能力G7建立起来了,只不过这个过程比较艰辛”。
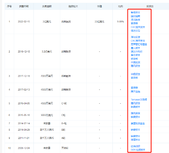
根据天眼查数据,G7已经实现了至少10轮融资,2008年公司迎来经纬创投和GGV纪源资本的天使轮投资;公司成立之初的2021年中鼎资本和雄厚资本投资数千万人民币;2014年B轮融资中鼎资本独家投资数千万人民币;2015年5月,公司迎来C轮融资,腾讯、中鼎资本投资3000万美元;2016年4月G7迎来C+轮融资,新加坡投资公司淡马锡伙同腾讯和中鼎再掷4500万美元;2017年2月,普洛斯和国开金融战略投资4500万美元;2017年12月,普洛斯和中银投资战略投资7000万美元;2018年12月,G7迎来了包括腾讯、厚朴、普洛斯等9家豪华团队投资3.2亿美元;2022年2月,公司再度迎来2亿美元的战略投资,由挚信资本、国投招商等机构领投,原有股东参与跟投,最新估值22亿美元,市值超百亿人民币。

值得注意的是,普洛斯是中国首屈一指的现代物流及工业基础设施提供商和服务商,资产管理规模620亿美元,普洛斯中国在境内外募集并运行多支专门投资于中国的私募基金。公司创始人兼CEO梅志明,为中鼎创投创始合伙人。这就意味着梅志明相关资本从G7A轮就开始投资,在G7 10轮投资中投了8轮。
钟鼎资本,成立于2010年,是一家专注“以供应链为核心能力提升产业效率”的生态型基金。 基金投资人包括国创元禾母基金、腾讯、京东、海底捞、国开金融、国际及国内FOF、中国商界领袖及全球500强中国区总裁在内的国内最高端投资人。钟鼎资本过往投资包括德邦物流、京东物流、晨光文具、G7、丰巢、云集、货拉拉、满帮等行业知名企业。