热门资讯> 正文
2022-01-30 18:31
澳门另一博彩中介龙头德晋集团实控人、明星安以轩丈夫陈荣炼亦于1月28日被澳门特区警方逮捕。
1月30日上午10点,澳门特区司法警察局召开新闻发布会公布,当局于2021年11月侦破一宗不法经营赌博、犯罪集团及清洗黑钱的案件,后续侦查期间发现一名49岁的陈姓嫌犯和一名34岁的蔡姓嫌犯“依然”涉嫌从事相关犯罪活动,尤其是不法经营网上赌博和“赌底面”(指赌客在台面上赌博的时候,在台面下以杠杆方式加大赌博金额)。
澳门司警局表示,两人在查问期间拒绝合作。司警局经搜查他们的路氹城住所和皇朝区办公地点,发现大量犯罪证据,包括410万港元(约合334万元人民币)现金、计算机、服务器等。2人稍后将被移送当地检察院。
据有关媒体报道,被拘捕两人包括德晋集团主席陈荣炼,他是台湾艺人安以轩的丈夫。
谁是陈荣炼?

百度百科信息显示,陈荣炼,原籍福建省晋江永和镇茂亭村人。澳门福建体育会理事长、德晋慈善会会长、德晋贵宾会董事长、德晋财务有限公司董事长、利互集团董事长、珠海德贤投资管理有限公司董事长、如意国际集团董事长、上海佰迦乐影院投资有限公司董事长等。
被誉为“亚洲拉斯维加斯”的澳门,博彩业无疑是其经济支柱。而陈荣炼赶上了澳门赌场最火爆的时光。2002年,澳门赌场牌照一分为三,随后港澳自由行开放,赌客、赌场瞬间汇聚在这个弹丸之地。2004年5月开业的金沙赌场,仅用7个月就收回了2.65亿美元的投资。
在澳门回归7年后,澳门博彩业规模超过拉斯维加斯,成为世界第一大赌城。
赶上风口,晋升大亨
2020年9月21日,这一天陈荣炼宣布以每股1.05港元的价格,购入12.8亿股澳门励骏公司股票,总共斥资13.44亿元,一举成为该公司的第二大股东,成为澳门新晋赌业大亨。鼎盛时期,德晋集团旗下拥有至少13个贵宾厅的经营权,分布在8家五星级酒店,拥有约200张赌桌开展业务。
陈荣炼目前还是澳门励骏创建(01680.HK,下称“澳门励骏创建”)的大股东,并出任公司联席的主席、行政总裁兼执行董事。根据香港联交所的权益披露信息,陈荣炼在2020年9月至11月期间多次大手增持澳门励骏,持股量从0.1%升至33.19%,取代澳门励骏联席的主席周锦辉,成为最大股东。
截至发稿,澳门励骏尚未在香港联交所发布公告。
内地起诉书:德晋涉嫌与内地人员合谋,于内地开设赌场
报道称,内地起诉书列有多宗案件,点名太阳城、德晋等澳门赌厅。2020年底,江苏省无锡市一宗案件的起诉书指出,澳门德晋集团涉嫌与内地人员合谋,于内地开设赌场。
起诉书列明,德晋与入股的被告约定分红,又合谋于内地开设非法赌博网站,德晋提供网址和电投账号,将菲律宾马尼拉德晋厅赌博画面,实时传输至内地。案件还涉及太阳城的赌厅账户,所涉的总金额高达2.1亿元人民币。
内地6家关联公司曝光
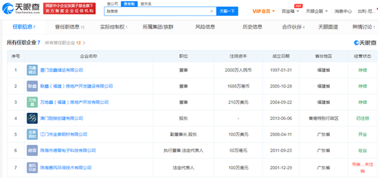
天眼查App显示,陈荣炼除了在澳门励骏创建有限公司担任联席的主席兼行政总裁、执行董事外,在内地还关联6家公司,其中5家为存续或在业状态,包括厦门龙鑫储运有限公司、联鑫(福建)房地产开发建设有限公司等公司、珠海市德晋电子科技有限公司等,陈荣炼均担任董事、执行董事、副董事长等高管职位,同时还担任珠海市德晋电子科技有限公司法定代表人,该公司系德晋集团有限公司全资子公司。
值得一提的是,2020年5月至8月,陈荣炼相继退出内地多家公司法定代表人及高管职位,包括珠海德晋文化传播有限公司、珠海市德新广告有限公司、上海德栩贸易有限公司等,这些职位均由高程雨琪接替。



而对于丈夫被捕事件,目前,安以轩并没有进行回应,她的微博已经停更了半个月,最后一条动态还是在微博晒娃。