简体
  • 简体中文
  • 繁体中文

热门资讯> 正文

薇娅偷逃税处罚款13.41亿元,给直播电商行业敲起什么警钟?

2021-12-20 19:55

自从网红主播雪梨、林珊珊因偷漏税被罚之后,以薇娅、李佳琦、罗永浩为代表的头部主播的税收问题也备受外界关注。

近期,据央视新闻报道:浙江省杭州市税务部门经税收大数据分析发现网络主播黄薇(网名:薇娅)涉嫌偷逃税款,在相关税务机关协作配合下,依法对其开展了全面深入的税务检查。

经查,黄薇在2019年至2020年期间,通过隐匿个人收入、虚构业务转换收入性质虚假申报等方式偷逃税款6.43亿元,其他少缴税款0.6亿元。国家税务总局杭州市税务局稽查局依法对黄薇作出税务行政处理处罚决定,追缴税款、加收滞纳金并处罚款共计13.41亿元。

该消息一经媒体报道,薇娅逃税新闻迅速登上不少媒体的头条。在微博热搜榜上,截至目前,#薇娅偷逃税被追缴并处罚款13.41亿元#这条新闻就获得3.8亿阅读,讨论人数11.5万+。据悉薇娅原定于今晚7点的淘宝直播预告消失。

被查之前,已有风声传出

要说起头部带货主播,离不开薇娅、李佳琦、罗永浩这几位。

其中,薇娅和李佳琦主要平台在淘宝,带货销售额长期前列,也被大家戏称为“淘宝一姐”和“淘宝一哥”。

近日,薇娅夫妇注销了成立刚刚一年的合伙企业,立刻引发热议。有网友质疑,是不是怕被查税才进行的企业注销。当时就有网友质疑,是不是怕被查税才进行的企业注销。

为何杭州市税务部门要对黄薇进行检查?杭州税务部门针对这一问题也回答了记者的提问。近年来,杭州税务部门一直重视并持续规范网络直播行业税收秩序。我们分析发现部分网络主播存在一定涉税风险,及时开展了风险核查,提示辅导相关网络主播依法纳税。

经税收大数据分析评估发现,黄薇存在涉嫌重大偷逃税问题,且经税务机关多次提醒督促仍整改不彻底,遂依法依规对其进行立案并开展了全面深入的税务检查。

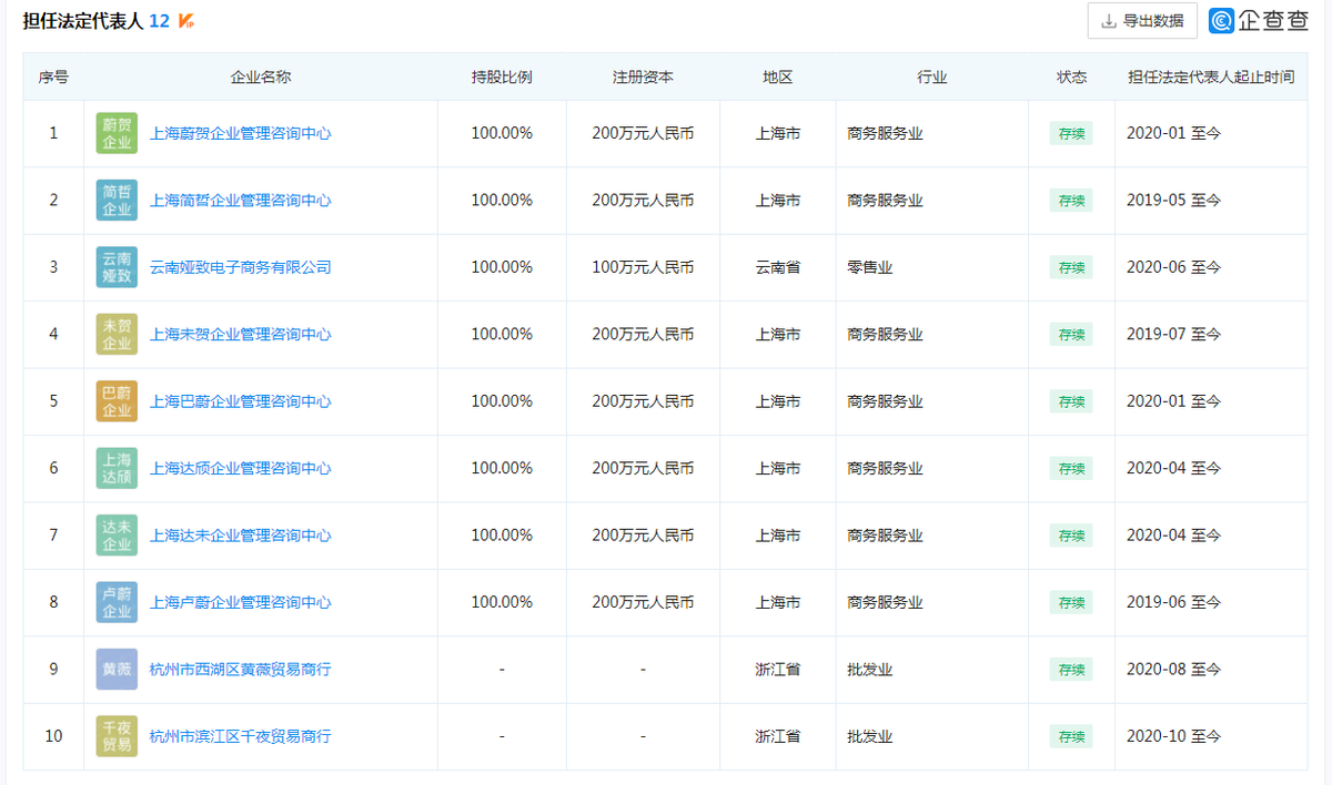
据公开资料显示,薇娅作为淘宝第一主播,淘宝粉丝1890万+,单场直播最高观看4300万+。同时,薇娅在多家公司担任股东、高管,旗下控股企业包括广州薇娅锋贸易有限公司等16家企业。

据新消费星球了解,该企业成立于2020年11月,直到今日也才刚刚满一年,执行事务合伙人为董海锋,经营范围含企业管理咨询;企业管理,合伙人包括黄薇(薇娅)、董海锋(薇娅丈夫)、黄韬(薇娅弟弟)等。

趁着直播带货的风口,加上各种传播正能量,这也让薇娅的事业蒸蒸日上,也推动了她背后的MCN机构谦寻的版图扩张。2020年以来,谦寻在早前基础上再行成立了杭州谦禧文化、谦娱(杭州)娱乐、杭州谦播文化传媒等多家子公司,围绕IP、文娱、整合营销等方向开展布局。

谦寻总部在杭州阿里西溪园区,它在这里占了颇大空间,包括仓库、超级供应链展示区、办公区、直播间等功能单位一应俱全。除了薇娅,目前谦寻旗下已经签约超50位主播。 除小侨Jofay、安安anan等达人主播外,谦寻 抓住明星直播的短暂风口,将林依轮、李静、海清、李响、大左、李艾、高露等明星都收入囊中。

这次薇娅被查出偷逃税事件对谦寻公司的发展影响巨大,站在直播电商行业,这又会给直播电商行业敲起什么样的警钟?

查处薇娅、雪梨、林珊珊偷逃税案背后,给直播电商行业带来哪些警示?

近几年,直播电商产业发展可谓迅猛。据艾瑞咨询发布研究报告称,2020年中国直播电商市场规模达1.2万亿元,年增长率为197.0%,预计未来三年年均复合增速为58.3%,2023年直播电商规模将超过4.9万亿元。而根据商务部此前公布的数据,2020年上半年全国电商直播活跃主播人数超过40万。

这次,这些头部主播爆出偷逃税事件,可以说也是带来了行业强监管的信号。

今年以来,对直播带货的约束正在不断收紧。3月,市场监管总局正式制定出台《网络交易监督管理办法》。5月,国家网信办等七部门联合发布《网络直播营销管理办法(试行)》,特别提到税收问题并规定,要对粉丝数量多、交易金额大的重点直播间运营者采取安排专人实时巡查、延长直播内容保存时间等措施。

该《办法》一方面针对网络直播营销中的“人、货、场”,将“台前幕后”各类主体、“线上线下”各项要素纳入监管范围,另一方面明确细化直播营销平台、直播间运营者、直播营销人员、直播营销人员服务机构等参与主体各自的权责边界,进一步压实各方主体责任。

值得注意的是,《办法》对粉丝数量多、交易金额大的重点直播间运营者采取安排专人实时巡查、延长直播内容保存时间等措施。这或将加强对李佳琦、薇娅等大主播的监管。

不少头部主播被查出偷逃税,罚款金额都是上亿规模,这是一次响亮的警钟声,敲打着每一位网络主播,也会让更多主播意识到过往有着偷逃税行为的应第一时间积极整改,切莫有侥幸心理。

本文来自微信公众号“新消费星球”,36氪经授权发布。

风险及免责提示:以上内容仅代表作者的个人立场和观点,不代表华盛的任何立场,华盛亦无法证实上述内容的真实性、准确性和原创性。投资者在做出任何投资决定前,应结合自身情况,考虑投资产品的风险。必要时,请咨询专业投资顾问的意见。华盛不提供任何投资建议,对此亦不做任何承诺和保证。

风险及免责提示:以上内容仅代表作者的个人立场和观点,不代表华盛的任何立场,华盛亦无法证实上述内容的真实性、准确性和原创性。投资者在做出任何投资决定前,应结合自身情况,考虑投资产品的风险。必要时,请咨询专业投资顾问的意见。华盛不提供任何投资建议,对此亦不做任何承诺和保证。