热门资讯> 正文
2021-11-25 19:10
“炒菜界的海底捞”摊上事儿了!海底捞找上门打官司,还索赔100万
近日,因有门店以“炒菜界的海底捞”进行宣传,河北小放牛餐饮管理有限公司被海底捞告上法庭,并索赔100万元,消息曝出后引发网友热议。

自称炒菜界的“海底捞”,被海底捞告上法院
公开信息显示,河北小放牛餐饮管理有限公司始创于1991年,前身为古城保定的北斗星餐厅,是一家河北菜品牌。目前在河北石家庄、保定、唐山、邯郸、沧州五市拥有30家直营分店,员工1400余人,经营总面积达14000平方米,年就餐人数600万人次,曾被中烹协评为“十佳中国特色餐厅”,是河北省人气较高的餐饮品牌。
2021年2月,小放牛在北京通州万达商场开出了北京首家门店,但这家店的海报、菜单、座牌等众多装潢以及官方微信公众号、网络自媒体上等宣传活动中,多次使用了“炒菜界的海底捞”标志。
大众点评平台上,位于北京通州的小放牛位列“新华大街美食热门榜第2名”,店铺展示图片中不仅有“小放牛”名称,还有“炒菜界的海里捞”宣传语。

在底部顾客评论的照片中,的确有晒出的照片显示,该店以“炒菜届的海底捞”做宣传。


对此,海底捞认为小放牛餐饮在宣传过程中,使用的“海底捞”三个字与海底捞注册商标组成文字完全相同,构成了商标侵权行为及不正当竞争,同时小放牛餐饮不当使用海底捞的品牌及经营优势进行商业宣传,也构成了虚假宣传。因此将其告上法庭。
起诉书显示,海底捞要求法院判令小放牛赔偿经济损失及为制止侵权行为所支付的合理开支人民币100万元,并在其经营门店、官方微信公众号、美团、饿了么及门店所在地市知名报刊显著位置连续刊登声明至少30天,就其侵权行为消除影响。
11月23日下午,据新京报,小放牛相关负责人称,“‘炒菜界的海底捞’不是我们率先提出,是顾客在给我们的评论和反馈中反复提及的。这是顾客给予小放牛服务的充分肯定,更是对海底捞的肯定。我们也从未想过故意‘攀附’海底捞,只是提炼顾客最感兴趣的内容为传播点。”对方同时称,海底捞一直是行业学习的榜样,“我们愿意追随海底捞,为顾客提供暖心的服务,给顾客提供美好的就餐体验。”
据悉,海底捞自2020年5月起,先后通过公函和律师函沟通交涉,希望该公司停止侵权,均未获得解决。海底捞方面表示,“我们欢迎同行之间的交流,相信互相借鉴能够推动行业的进步。但所有的商业行为应该在法律的框架下进行。”
小放牛此前上诉遭法院驳回
值得注意的是,据裁判文书网,今年10月21日,北京市知识产权法院就小放牛与海底捞侵害商标权纠纷一案出具了民事裁定书。

裁定书显示,北京市东城区人民法院此前曾就小放牛与海底捞侵害商标权及不正当竞争纠纷一案做出过一审裁定,但小放牛不服,向北京市知识产权法院提起上诉。
小放牛公司上诉称:

一、我方注册地为河北省保定市莲池区,与我方存在隶属关系的门店仅存在于河北省范围内,北京市通州区万达广场的涉案店铺并非我方下属门店。因此北京市通州区不是我方住所地、亦非侵权行为地,故一审法院对本案无管辖权。
二、一审在管辖异议阶段裁定认为“本院经审查认为,原告主张被告小放牛公司经营的位于北京市通州区店铺的海报、菜单、座牌等众多装潢以及官方微信公众号、网络媒体上等宣传活动中使用了‘海底捞’字样,构成了商标侵权行为及不正当竞争”,从而驳回我方管辖权异议。一审法院在诉讼程序中审查实体问题,程序违法;案件未经实体审理就先入为主,对争议事实予以认定,违反客观公正性,有损我方权利。综上,为查清案件事实,维护我方合法权益,请求撤销一审裁定,将本案移送至河北省保定市中级人民法院审理。


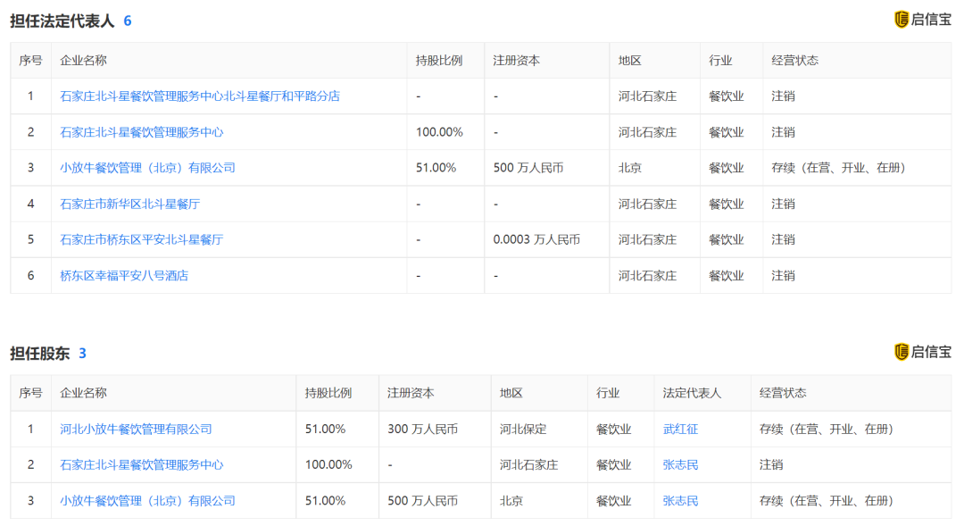
值得注意的是,小放牛称“北京市通州区万达广场的涉案店铺并非我方下属门店”。据大众点评显示,小放牛(北京首店)地址为新华西街万达广场四层。


而启信宝显示,小放牛餐饮管理(北京)有限公司地址为通州区新华西街58号1号楼4层。百度地图显示该地址正位于新华西街的万达广场。该公司法人为张志民,与河北小放牛餐饮管理有限公司第一大股东、董事长为同一人。

北京市知识产权法院认为,根据海底捞公司起诉称,被诉行为系小放牛公司未经许可在其经营的北京市通州区万达广场店铺的海报、菜单、座牌等众多装潢以及官方微信公众号、网络媒体上等宣传活动中使用了“炒菜界的‘海底捞’”标志,并通过颜色、分行等排版方式对“海底捞”文字进行突出展示,构成对公司商标权的侵害和不正当竞争。
其次,《中华人民共和国民事诉讼法》第二十八条规定,因侵权行为提起的诉讼,由侵权行为地或者被告住所地人民法院管辖。本案中,海底捞公司控诉的侵权行为发生地包括北京市通州区。最后,根据《最高人民法院关于同意北京市高级人民法院调整北京市基层人民法院知识产权案件管辖权的批复》,北京市东城区人民法院管辖本辖区并跨区域管辖北京市通州区人民法院辖区内的第一审知识产权民事案件。由于本案属于知识产权民事案件,故一审法院对本案具有管辖权。
关于小放牛公司主张一审裁定所载明的“本院经审查认为,原告主张被告小放牛公司经营的位于北京市通州区店铺的海报、菜单、座牌等众多装潢以及官方微信公众号、网络媒体上等宣传活动中使用了‘海底捞’字样,构成了商标侵权行为及不正当竞争”系在管辖异议阶段对实体问题进行审理,程序违法。对此,本院认为,该内容系一审法院对海底捞公司作为原告起诉时诉称内容的概括,并非法院认定的案件事实。因此,一审法院的程序并无不当,本院予以确认。小放牛公司的该项主张缺乏事实与法律依据,本院不予采纳。
最终,北京市知识产权法院驳回了小放牛的上诉,维持原判。