简体
  • 简体中文
  • 繁体中文

热门资讯> 正文

医达健康冲刺港交所:自主研发手术机器人,经纬中国持股10%

2021-07-12 09:47

  医达健康医疗科技控股有限公司(简称:“医达健康”)日前向港交所递交招股书,准备在香港上市。

  医达健康是一家智能精准外科解决方案提供商。

  近数十年来,精准手术逐渐成为手术操作的方向及未来。藉助医疗成像及人工智能技术进步,围术期管理(从临床评估、术前规划到手术操作及术后评估)成为更准确及可量化的过程,能够以最小的手术创伤实现最大的病变移除。

  在精准手术的解决方案中,手术机器人及精准手术规划解决方案为两大范畴。

  1,手术机器人。手术机器人旨在克服人体生理限制,在精准手术中发挥越来越重要的作用,通常用于在手术过程中为医生提供辅助。中国的手术机器人市场仍处于起步阶段。手术机器人在中国渗透率仅为1.36%。

  2,精准手术规划解决方案。精准手术规划解决方案是精准手术的另一个重要领域,让医生能够根据靶器官╱病变的全量化和交互性3D图像执行术前规划。因此,精准手术规划软件不仅提高整体手术可操作性及效率,同时亦降低医生采纳新的且完善的手术学习曲线。

  精准手术规划的主要应用之一为胸腔及腹部器官。

  于2020年,仅有3.17万宗胸腔及腹部手术案例得到精准手术规划的支援,预计该数字将快速增长,于2025年达到14.16万宗,从2020年到2025年的复合年增长率,最终于2030年达到63.92万宗。

  IQQA-Guide系列是医达健康自主研发的经皮手术机器人系统,在手术中为外科医生提供基于3D的术中导航。

  传统上,经皮手术导航主要依赖包括CT及MR在内的放射成像结果,而患者须经过几次扫描和测试,医生在手术中则须仅根据CT扫描图像不断调整手术针的位置和角度。

  IQQA-Guide系列引入智能3D导航方法。IQQA-Guide系列基于患者器官的eOrganMap为医生提供实时及全量化的导航,引领医生在准确的位置和角度精确定位和插入手术针,并在到达靶病变过程中提供实时导航信息。

  招股书显示,医达健康2019年、2020年营收分别为2006万元、2230万元;医达健康2021年第一季度营收为1026万元,上年同期的营收为184万元。

  医达健康2019年、2020年期内亏损分别为2.47亿元、2.86亿元;医达健康2021年第一季度期内亏损为6058万元,上年同期的期内亏损为6625万元。

  医达健康2019年、2020年经调整亏损分别为4920元、4791万元;医达健康2021年第一季度经调整亏损为3066万,上年同期的期内亏损为1213万元。

  截至2021年3月31日,医达健康持有的现金及现金等价物为10.55亿元。

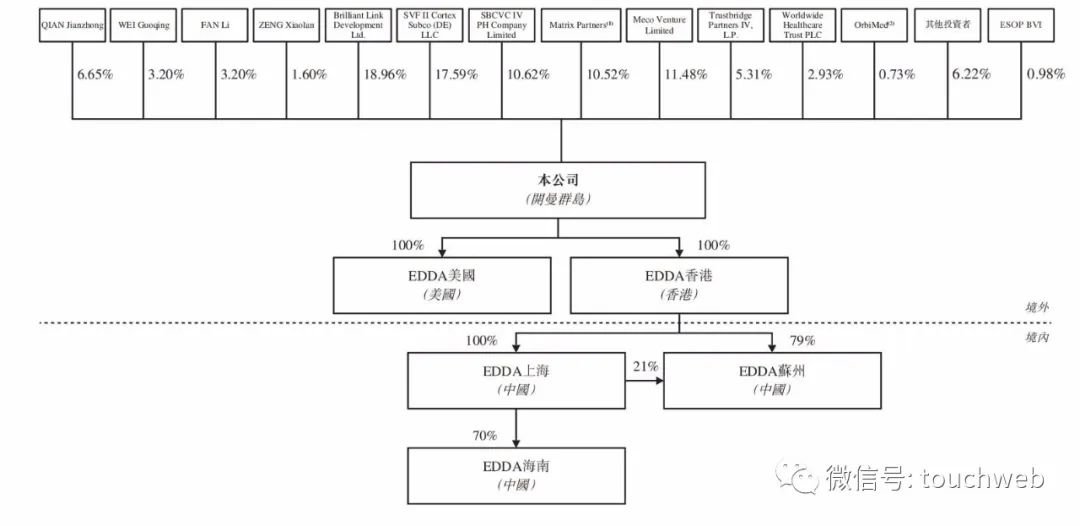
  软银与经纬是股东

  医达健康执行董事为QIAN Jianzhong、FAN Li、ZENG Xiaolan,均为美国籍;非执行董事为HUA Ping、韩黎、许娟;独立非执行董事为George S. GEH、梁英杰、陆超。

  2021年3月,医达健康完成总额约1.5亿美元的战略跨界融资,投资方包括SVF II Cortex Subco (DE) LLC(软银) 、Worldwide Healthcare Trust PLC、OrbiMed Genesis Master Fund, L.P、OrbiMed New Horizons Master Fund, L.P.、3W Healthcare Fund。

  IPO前,QIAN Jianzhong持股为6.65%,Wei Guoqing持股为3.2%,Fan Li持股为3.2%,ZENG Xiaolan持股为1.6%。

  宝立发展有限公司持股为18.96%,SVF II Cortex Subco (DE) LLC . 持股为17.59%,Meco Venture Limited持股为11.48%,SBCVC IV PH Company Limited持股为10.62%;

  Matrix Partners持股10.52%,Trustbridge Partners IV, L.P.持股5.31%。

 

 

 

 

 

 

 

 

 

 

 

 

风险及免责提示:以上内容仅代表作者的个人立场和观点,不代表华盛的任何立场,华盛亦无法证实上述内容的真实性、准确性和原创性。投资者在做出任何投资决定前,应结合自身情况,考虑投资产品的风险。必要时,请咨询专业投资顾问的意见。华盛不提供任何投资建议,对此亦不做任何承诺和保证。