热门资讯> 正文
2021-03-20 09:10

据IFR,腾讯支持的联易融在港获批10亿美元IPO,此前消息称其寻求在香港进行5亿美元的IPO。
此前据港交所1月8日披露,联易融科技集团向港交所主板递交上市申请,高盛和中金公司为其联席保荐人。
本文仅为信息交流之用,不构成任何交易建议
联易融是一家供应链金融科技解决方案提供商,其云原生解决方案可优化供应链交易的支付周期,实现供应链金融全工作流程的数字化。
根据公开信息,联易融的股东及投资方包括腾讯、中信资本、正心谷、贝塔斯曼(BAI)、渣打银行等。2016年8月、2017年8月、2018年10月,联易融分别完成一轮融资,融资额分别为1亿元、2亿元、2亿美元,腾讯均有参与。

2019年12月31日,联易融获得渣打银行的C1轮融资。根据介绍,同意向C1轮投资者发行及配发5,444,444股C1轮优先股,购买价格为每股股份10.102美元,总对价为5499.98万美元。
值得一提的是,联易融还在2020年获得了新加坡金融管理局(MAS)颁发的数字银行牌照,该牌照由联易融与绿地控股旗下绿地金融集团、北京协力创成股权投资基金等组成的财团申请。
根据灼识咨询数据,在2020年前9个月,该集团处理的供应链金融交易金额达1,223亿元人民币,在中国供应链金融科技解决方案提供商中排名第一,市场份额为20.5%。
根据灼识咨询数据,中国供应链金融的融资馀额到2024年底预计将达40.3万亿元,虽然市场规模广阔,但需要全面的数字化转型来实现这一领域的增长潜力。
灼识咨询预计供应链金融领域的核心企业及金融机构用于科技解决方案的总支出将从2019年的434亿元增长到2024年的1,642亿元,复合年增长率为30.5%。

联易融自2016年起开始提供企业级、基于云端计算和数字化的供应链金融解决方案。自2016年成立以来,已服务290多家核心企业,并与超过180家金融机构合作。截至2020年9月30日,该集团在中国已累积帮助客户和合作伙伴处理近2,500亿元的供应链金融交易。
截至2020年9月30日,该集团拥有一支由341名经验丰富的技术专家组成的团队,占员工总数的62%。截至最後实际可行日期,已申请及注册340多项专利和版权。

联易融的主要收入模式为基于交易量收取科技解决方案的服务费用。其供应链金融科技解决方案客户净扩张率在2019年约为125%,在2020年前9个月约为116%。而2020年前9个月,其供应链金融科技解决方案客户留存率达99%。

招股书显示,该集团的供应链金融科技解决方案处理的总交易额从2018年的293亿元增长到2019年的826亿元,同比增长182%,继而又增长到截至2020年9月30日止九个月的1,223亿元,同比增长92%。
其总收入及收益也从2018年的3.83亿元增长到2019年的7.00亿元,增速达83%,并在截至2020年9月30日止九个月实现52%的同比增长,达到8.08亿元。经调整净利润截至2020年9月30日止九个月达到1.3亿元,而2019年同期为3,700万元。

于2018年及2019年及截至2020年9月30日止九个月,联易融的五大供应商分别占其同期采购额45.5%、33.7%及32.6%。于2018年及2019年及截至2020年9月30日止九个月,其最大供应商占同期采购额22.5%、16.3%及12.7%。
人员配备上,截至2020年9月30日,联易融共有548名员工。其中,约62%的员工主要从事技术相关工作,合计341人。同期,联易融负责销售及营销的员工89人,一般行政管理118人。
根据招股书,联易融创始人、控股股东宋群为其董事长兼CEO,其联合创始人冀坤为总裁,联合创始人周家琼为副董事长兼首席风控官。同时,其高管还包括首席技术官钟松然、副总裁李小刚、首席财务官赵宇等。
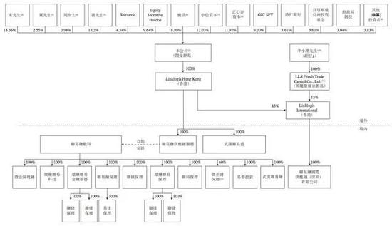
IPO前,宋群直接持有联易融15.36%股份,冀坤持股2.55%,周家琼持股0.98%,联易融董事蒋希勇持股1.02%。同时,宋群等代表的10名员工组成的股权平台Shirazvic持股4.34%,股权激励平台Equity Incentive Holdco持股9.64%。

外部股东中,腾讯、中信资本、正心谷、GIC(新加坡政府投资公司)、渣打银行、贝塔斯曼亚洲投资基金(BAI)、招商局创投分别持有联易融18.89%、12.03%、11.92%、9.20%、3.61%、3.60%、3.04%的股份。