热门资讯> 正文
2020-09-07 17:52
原标题:农夫山泉明日IPO:募资超81亿港元 成港股“冻资王” 来源:雷帝触网

雷帝网 乐天 9月7日报道
农夫山泉明日在港交所上市,发行价为21.50港元,将募集资金净额为81.49亿港元。若超额配股权获悉数行使,农夫山泉还可额外募资12.27亿港元。
农夫山泉的基石投资者包括Fidelity、Coatue、GIC、国调基金及诚通中信农业基金等,认购总金额为24.73亿港元。
此次上市过程中,FidelityInternational已认购3604.84万股H股股份,Coatue已认购2883.86万股H股股份,GIC已认购2523.38万股H股股份,国调基金及诚通中信农业基金已分别认购1514万股及288万股H股股份,ORIX AsiaConsumerTrend已认购721万股H股股份,总数为1.15亿股H股股份。
以发行价计算,农夫山泉市值2300亿港元,今日暗盘,农夫山泉大涨110%,这意味着农夫山泉暗盘市值已超4800亿港元。
农夫山泉此次申购农夫山泉的人数超过70万人,冻结资金6709.5亿港元,成为港股历史上头号“冻资王”,被外界称为“水中茅台,农夫山泉”。
去年利润近50亿

农夫山泉创立于1996年,前身新安江养生堂饮用水成立,1997年以浙江千岛湖为水源的第一款“农夫山泉”包装饮用水产品上市。
2001年,农夫山泉改制为股份有限公司,公司名称变更为“农夫山泉股份有限公司”,2003年农夫山泉的第一款果汁饮料产品“农夫果园”上市。
2015年以吉林长白山莫涯泉为水源的“农夫山泉”天然矿泉水产品上市。2019年农夫山泉的第一款咖啡产品“炭➞”及第一款植物酸奶产品上市。
农夫山泉的收入主要分别为几个大类:包装饮用水产品、茶饮料产品、功能饮料产品、果汁饮料产品及其他。
农夫山泉投分众楼宇,增强城市主流人群影响力

农夫山泉在持续壮大和扩张中,也大举投放分众楼宇广告,增强在城市人群中的引爆力。
招股书显示,农夫山泉2017年、2018年、2019年营收分别为174.91亿元、204.75亿元、240.21亿元。
招股书显示,农夫山泉2017年、2018年、2019年期内利润分别为33.86亿元、36.12亿元、49.54亿元,净利润率分别为19.4%、17.6%、20.6%。

受疫情的影响,农夫山泉2020年前5个月营收86.64亿,较上年同期的99.17亿元降12.63%;期内利润为19.31亿元,较上年同期的23.6亿元下降18.2%。
钟睒睒获近百亿分红

农夫山泉是养生堂旗下的印钞机,也是实控人钟睒睒发家的利器。
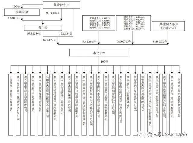
IPO前,养生堂持有农夫山泉69.58%股权,钟睒睒直接持股17.8634%,钟睒睒直接和间接控制农夫山泉87.4472%股权。农夫山泉旗下有众多子公司。

就2017年、2018年及2019年财政年度而言,农夫山泉分别向公司的股东派付股息3.67亿元、3.67亿元及95.98亿元。
2020年3月举行的公司股东大会上,农夫山泉宣派总计9亿元的股息,包括7.2亿元的股份股息及1.8亿元的现金股息。该等股息已于2020年4月支付完毕。
钟睒睒与娃哈哈创始人娃哈哈也有渊源。
当年,钟睒睒将低价拿到的娃哈哈,计划“窜货”投放到别的地区高价销售,以此来赚差价。这事被宗庆后知道后,取消了钟睒睒的代理商资格。
走投无路的钟睒睒,靠着之前“窜货”攒下来的钱在海南岛成立养生堂。至此,钟睒睒才正式赚到真正意义上的第一桶金。
如今,农夫山泉在市场上的势头也不亚于娃哈哈。
当然,钟睒睒旗下能下金蛋的母鸡也并非只有农夫山泉。2020年4月,钟睒睒把旗下产业万泰生物送到上交所上市,当前万泰生物市值854.71亿元。
———————————————
雷帝触网由资深媒体人雷建平创办,若转载请写明来源。