简体
  • 简体中文
  • 繁体中文

热门资讯> 正文

把钱留给物业股吧,深南科技打新分析

2020-03-02 09:25

招股概况

深蓝科技(01950.HK)

招股价:0.5-0.6港币

每手股数:4000股

市值:5.5亿港币

发售股数:2.5亿股 其中:

公开发售股数2500万股

募集资金:9140万港币

保荐人:智富融资有限公司

一手入场费:2424.18港币

申购日期:2020年02月27日——2020年03月03日

交易日期:2020年03月12日

市盈率为15.71

指标一:公司前景与行业类别属性

公司概况

深蓝科技(01950.HK)公司为一家中国知名人工革化学品製造商,主要从事知名品牌「深蓝科技 」下的涂饰剂 及合成树脂的研发、製造及销售。根据灼识谘询报告,公司以2018年收入计,于中国人工革化 学品製造业约佔0.75%的市场份额及以2018年收入计,公司于中国人工革涂饰剂市场排名第四,市场份额约为1.9%。

截至2016年、2017年及2018年12月31日止年度以及截至2019年9月30日止九个月,该公司的收入分别约为1.512亿元人民币、1.576亿元人民币、1.673亿元人民币及1.301亿人民币,及纯利分别约为2540万元人民币、3500万元人民币、3080万元人民币及1520万元人民币。

公司在中国已拥有36项专利,并正在申请5项专利注册。

下表载明于往绩记录期内按产品类别划分的收入、毛利及毛利率明细:

下表载列于往绩记录期内按地区位置划分的收入明细:

按客户类型划分的收入明细:

各相关期间的经调整纯利、经调整EBITDA及经调整纯利率:

然而,人造皮革似乎并不是一个拥有快速增长潜能的行业。灼识咨询报告显示,据估计2019年至2023年人工革化学品的需求将持续增长,而预计2018年至2023年表面处理剂及助剂以及着色剂的销售价值将分别按5.6%及5.7%的复合年增长率增长,增速相对较为缓慢。

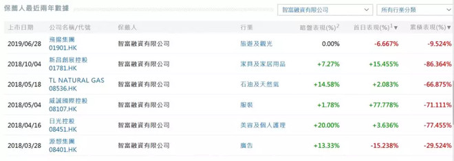
下面再来看一看同行业公司历史表现:

公司前景与行业类别属性比重20%--10/20

指标二:新股中签率范围预估

目前深蓝科技认购未足额,中签率可能是17%。

新股中签率稀缺性属性比重10%——5分/10

指标三:保荐人历史业绩

保荐人:智富融资有限公司

保荐人保荐的7只股票,总体成绩还是比较优秀的

保荐人历史业绩10%——9/10

指标四:基石投资者

基石投资者——0/10

指标五:其他的特殊加分项


 

指标六:超额认购倍数

这只股票的超额认购倍数还未足额:
 

指标七:当下市场表现

按中国人的习惯,新年穿新衣,每年的春节期间,恰好是纺服产品密集销售的一段时间,今年却遭遇公共卫生事件的重创,众多商场和购物中心春节期间暂停营业,对时尚消费品线下销售造成短期冲击,这或许也将在一定程度上影响深蓝科技的产品销售与客户拓展。

当下市场表现(额外加分项目)——+5分

新股评分汇总:

指标一:公司前景与行业属性20%——10分

指标二:新股中签率10%—————5分

指标三:保荐人历史业绩10%——— 9分

指标四:基石投资者及解禁期10%——0分

指标五:其他的特殊加分项5%———0分

指标六:超额认购倍数45%————10分

指标七:当下市场表现

————5分

如果按照100分+的评级来算——合计———39分

新股申购评级:

全力申购:90分以上

尽量申购:80分-90分

可以申购:70分-80分

谨慎申购:60分-70分

放弃申购:60以下√

本股票属于 不建议申购39分 √

新股点评

这只新股放弃,钱留出来给物业股吧

小熊猫操作建议

这只新股放弃,钱留出来给物业股吧

风险及免责提示:以上内容仅代表作者的个人立场和观点,不代表华盛的任何立场,华盛亦无法证实上述内容的真实性、准确性和原创性。投资者在做出任何投资决定前,应结合自身情况,考虑投资产品的风险。必要时,请咨询专业投资顾问的意见。华盛不提供任何投资建议,对此亦不做任何承诺和保证。