热门资讯> 正文
2019-12-04 20:13
原标题:大唐地产赴港上市:“蓝脸的窦尔墩”背后是负债高企 来源:新京报
25年前,以蓝脸的窦尔墩为品牌形象的大唐地产在厦门一战成名。25年后,大唐地产终于重启其来之不易的二次上市历程。
2019年11月29日,大唐地产正式向港交所提交上市申请。这家由福信集团控股的房企揭开神秘面纱。
大唐地产发轫于台湾,陷入危机被福信集团收购
“蓝脸的窦尔敦盗御马,红脸的关公战长沙……”在京剧中,窦尔敦和关公一样都是嫉恶如仇,富有正义感的侠者,而大唐地产创始人余英仪也非常推崇窦尔敦这一英雄人物。
1984年,大唐地产发轫于台湾,余英仪以唐风建筑一举摘得台湾建筑界最高奖鲁班奖从而名动台湾。1994年,余英仪以独具特色的“蓝脸窦尔墩”广告打入厦门市场,为此赢得了厦门市“优秀广告奖”,也成功打开了厦门市场。
作为“西进”的台商,余英仪一路叱咤风云,其承载着大唐梦的“大唐世家”成为厦门楼市的热销之作,同时,余英仪还将触角伸向了教育、酒店、娱乐等行业。
然而,好景不长,2008年,金融危机席卷全国,大唐地产资金链断裂。同一年,其创始人余英仪辞世。原本已拟定于2009年在香港挂牌的大唐地产的命运跌入谷底。2009年,福信集团收购大唐地产,收购完成后,福信集团将旗下地产业务与大唐地产进行整合,大唐地产也成为福信集团旗下主要的地产业务平台。
此后,大唐地产在全国化布局上有所突破,目前,大唐地产的业务范围主要布局海西、北部湾、京津冀及长江中游4大经济区。截至2019年9月30日,大唐地产拥有69个处于不同开发阶段的物业开发项目,应占土储面积778.97万平方米,包括51.53万平方米已竣工未售项目、523.35万平方米开发中项目以及204.08万平方米未来开发的物业。
在全国化扩张的同时,大唐地产的规模上并未有显著提升,一直到2016年,大唐地产开启了规模化发展道路。据克而瑞披露的数据显示,大唐地产2016年-2018年的流量销售金额分别为86.1亿元、144.7亿元和308.6亿元,行业排名分别为第149名、第109名、第77名。根据克而瑞数据,今年前10个月,大唐地产全口径销售金额为266.4亿元,位列销售排行榜第77名。
营收方面,招股书显示,在过去的2016年、2017年、2018年和2019年上半年,大唐地产的营业收入分别为20.76亿元、40.19亿元、54.96亿元及25.26亿元;相应的净利润分别为1.29亿元、4.13亿元、5.88亿元及3.69亿元;同期,公司毛利率分别为18.4%、24.0%、27.8%、15.9%及37.5%。
上市“解渴”,净负债率达185.6%
从负债情况和现金流情况来看,大唐地产处于高负债和现金流紧张的关口。从招股书披露的数据来看,2016-2018年末及2019年6月底,大唐地产的负债总额分别为186.69亿元、257.79亿元、297.51亿元和312.86亿元,净负债率分别为1085.3%、1087.9%、408.8%和185.6%。
截至2019年6月末,大唐地产的借款总额达到75.98亿元,一年内应偿还的借款约为17.3亿元,一至两年内应需偿还的借款约为31.69亿元;同期,大唐地产的现金及现金等价物约为19.42亿元。
大唐地产在披露募资用途时,明确提到了用于偿还部分计息银行借款,其中一笔按固定年利率9%计息及于2022年6月到期,还有一笔银行借款按固定年利率8.5025%计息及于2021年8月到期。
2016年至2019年6月,公司从银行借款分别为51.37亿元、81.11亿元、62.05亿元和50.88亿元,其母公司福信集团作为担保方。信托是公司另一融资渠道,截至2019年9月30日,公司信托借款合计24.99亿元,占公司借款总额33.89%。公司尚未偿还的信托融资共计有11笔,涉及渤海信托、华融资产等,最高年利率14%,最低年利率也有8.80%。
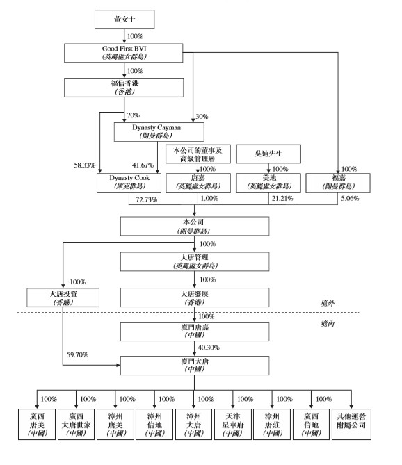
上市前大唐地产公司股权架构图

图片来源 大唐地产招股书截图
福信集团走向台前,是民生银行创始股东之一
随着大唐地产的一纸招股书,其母公司福信集团也从幕后走向了台前。
福信集团由陈章辉创办,陈章辉1982年毕业于厦门水产学院,后留校工作,1989年辞去公职,投身改革开放经济建设大潮,1993年正式创办厦门福信企业,短短几年时间里,就迅速发展成为拥有十几家企业,涉及金融、证券、房地产、生物工程、光纤网络、电子信息等多个行业的综合性投资集团。
1995年,陈章辉率福信集团参与发起成立中国首家民营全国性股份制商业银行——中国民生银行,成为该行大股东并担任董事。此后,福信集团还入股交通银行、闽发证券、汉口银行、永安保险等金融机构。
不幸的是,陈章辉于2000年8月因病去世。此后,作为“元老”之一的黄晞接任福信集团董事长,2005年,黄晞作为福信集团董事长,以8亿元的金融财富首度入榜胡润金融富豪榜,名列第9位,也成为后来的福建女首富。目前,黄晞仍然是福信集团董事、控股股东。同时,招股书显示,大唐地产上市前的股东结构中,黄晞持有77.79%的股份。
2011年1月起,黄晞便将业务的持续经营及管理委托予吴迪。吴迪也是福信集团发展历史上的元老级的人物,其早期跟随陈章辉创业,在收购大唐地产中,也发挥了主导的作用,现任福信集团董事长,也同时担任大唐地产执行董事、董事长。
值得注意的是,吴迪目前还兼任民生银行的非执行董事,也是其董事会薪酬与考核委员会及风险管理委员会委员,吴迪也持有大唐地产上市前21.21%的股份。
对于吴迪执掌的大唐地产来讲,重启上市按钮是否能解救当下资金之急、加速规模发展,值得市场期待。
新京报记者 徐倩