热门资讯> 正文
2026-04-21 21:00
据媒体报道,阿里巴巴(09988.HK)支持的视频AI初创公司PixVerse拟赴港IPO,最快于今年内来港上市。公司正与包括中金及摩根大通等银行合作筹备上市事宜,但最终上市时间及估值等细节可能会有所变动。
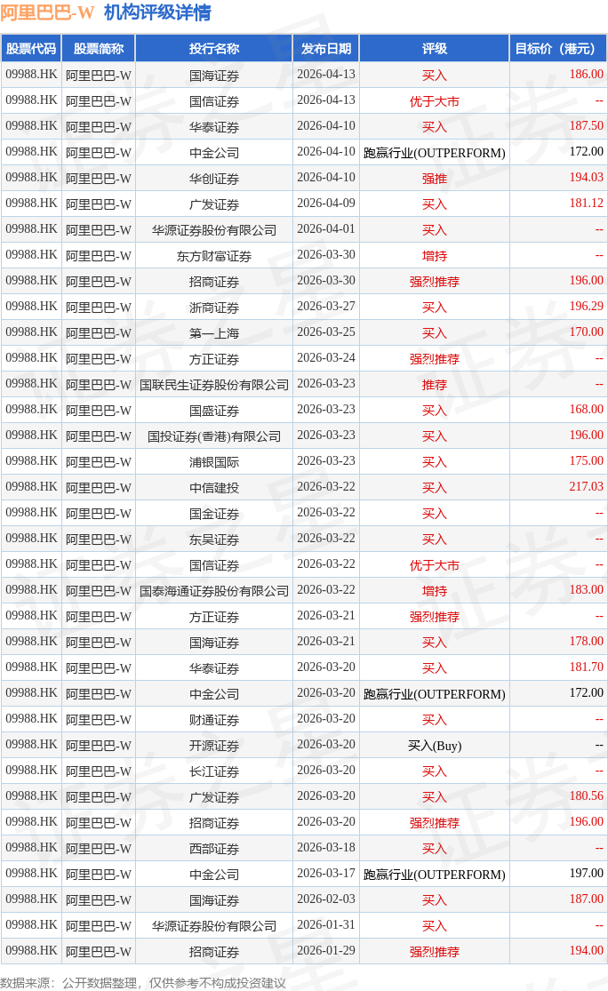
截至2026年4月21日收盘,阿里巴巴-W(09988.HK)报收于136.3港元,下跌0.51%,成交量4492.0万股,成交额61.15亿港元。投行对该股的评级以买入为主,近90天内共有20家投行给出买入评级,近90天的目标均价为186.11港元。国海证券最新一份研报给予阿里巴巴-W买入评级,目标价186港元。
机构评级详情见下表:

阿里巴巴-W港股市值26213.7亿港元,在一般零售行业中排名第1。主要指标见下表:

以上内容为证券之星据公开信息整理,由AI算法生成(网信算备310104345710301240019号),不构成投资建议。