简体
  • 简体中文
  • 繁体中文

热门资讯> 正文

前三季度港股IPO市场:盛宴到来!香港新股市场实在太热闹、太赚钱了~

2025-10-09 17:43

 


 


 

2025年 三季度 ,港股市场共有 6 6 只新股IPO上市, 同比增长 4 6.7 % 累计募资 1 824 亿港元, 同比增 幅达 228 .1 % 继续 稳居 全球 各大 交易所之首 紫金黄金国际募资近250亿港元,成为仅次于宁德时代的年内港股第二大IPO  
三季度 港股基石投资总额合计达 742 亿港元,占募资额的 4 1 % IPO打新市场火爆 异常, 年内累计超680万人次参与打新 新股 表现强势,打新收益飙升,七成以上 新股 首日收涨 平均涨幅接近三成  
一、港股IPO发行情况 
2025年 三季度 ,港股市场共有 6 6 新股IPO上市,同比增长 46.7 %;合计募资 1 824 亿港元,同比增 228 %, 继续 稳居 全球 各大 交易所之首 其中 9 月份 1 0 只新股登陆港股, 合计募资 4 79 亿港元  
 


同期,美股市场有 1 73 新股IPO上市,同比增长 42 %;合计募资 307 亿美元 ,同比 增长 19 %。A股市场有 7 8 新股IPO上市,同比增长约 1 3 %;合计募资 773 亿人民币 ,同比增长约 61 %。 
 


紫金黄金国际于 9月底登陆港股市场,募资近2 50 亿港元,成为 仅次于宁德时代的 年内港股第二大I PO ,同时也是 A股分拆上市有史以来最大规模的IPO 此外,奇瑞汽车 、禾赛- W 、奥克斯电气亦募资 数十 亿港元, 第六、八、九  
 


二、 港股 新股认购情况 
前三季度港股 有基石投资者参与的 新股 57 ,占8 6.4 % 参与认购的基石总数 324 (未去重) 平均每只新股有 5.7 家基石。 上市 新规实施之后, 港股IPO新股 基石认购 开始出现两极分化 紫金黄金国际、奇瑞汽车等大型龙头企业获大量基石参投, 健康160 西普尼 小型I PO 则无基石参与  
基石投资 者认购 总额合计达 742 亿港元,占 总体IPO 募资额的 4 1 % 。其中, 9月份上市的紫金黄金国际获得了 2 9 家基石 近1 25 亿港元认购 ,基石占比过半; 奇瑞汽车获1 3 家基石近4 6 亿港元认购,基石占比 达5 0 %。 
 


从申购人数看, I PO 打新 市场 可谓 火爆异常 。前三季度 累计 680 万人次参与打新 ,平均每只新股有 1 0.3 万人参与打新 上市新规以来 1 4 只新股里有1 2 只公开认购人数超1 0 万人 ,其中参与认购紫金黄金国际 的达3 5 万人  
从认购倍数看,前三季度 公开认购超千倍 的新股有 1 5 新规后 就有8只 ,市场抢购氛围浓厚 其中, 大行科工 的公开认购倍数高达7 558.4 倍,创下港股历史最高 ,成为 新晋 港股超购王 ”。 
 


新规之后的国配认购 积极性提升 显着 前三季度 国配认购十倍以上的 22 只, 其中新规后 新股 便占了 8只 其中 劲方医药-B 大行科工 佳鑫国际资源 紫金黄金国际 等新股 国配认购均超过 20  
尽管市场认购异常火爆,但 新机制实施以来的1 4 只新股中,仅有奥克斯电气、天岳先进采取机制A分配方式,其余均以机制B发行。 使得公开发售 “认购 多,中签少”, 获配比例显着下行, 国配则在“分货”环节优势明显。 
 


三、 港股 新股上市表现 
从上市表现看, 年内 新股 表现强势, 打新收益飙升 七成以上 首日收涨  
暗盘 44 20 跌2平,上涨概率 66.7 %,平均涨幅 30.8 %; 首日 47 涨1 6 跌3平,上涨概率达 71.2 %,平均涨幅约 29 % 累计: 4 9 涨1 7 跌, 上涨概率 7 4.2 %,平均涨幅 71 %。 
年内 1 7 只新股 实现翻倍以上收益 其中多家18A生物医药公司表现出色,药捷安康- B 上市仅3个多月便累涨近十倍, 最高一度涨超5 0 倍,成为 港股 年内“最 新股  

以机制B分配的新股, 无一例外全部首日上涨 。在新的分配机制下,尽管部分新股的发行无基石投资者“保驾护航”,但受市场火爆和新规后机构 认购 分配 优势等因素影响,仍然取得了出色的市场认购成绩以及上市表现。 
 


以首日开盘价卖出, 年内港股 打新中签一手的 累计账面收益 (不计手续费) 可达 10.6 万港元 ,平均每只新股获利 1600 港元。 新规实施后 的1 4 只新股 收益 尤其 惊人 平均每只 新股 一手 获利超3 150 港元, 国配 则更是 “赚麻了”  
 


四、港股拟上市项目 
目前, 港股 IPO 发行活动可谓如火如荼, 排队上市名单 众多  
其中 长风药业 10 8 日正式 在港 上市 正在招股或招股完成即将上市的还有挚达科技、金叶国际集团 轩竹生物- B 、云迹等公司 从最新 认购 数据看, 市场 各上市新股的认购活动 保持 高度热情。 
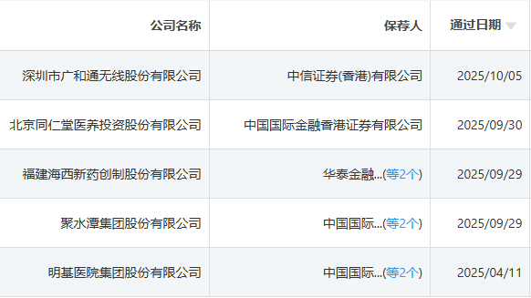
此外, 已通过聆讯的 包括 广和通(A +H )、同仁堂医养、海西药业、聚水潭、明基医院 公司,预计 后续 也将陆续 港股市场 上亮相  
 


LiveReport大数据统计, 目前累计 300家 公司正在申请港股上市 较年初的约100家增长了两倍 德勤预计, 今年 香港将有超过80支新股上市, 资额将达 2500亿至2800亿港元 ,较其6月 预测的2000亿上调了25% 40%。 
截至2025年9月30日,9月份已新增27家A股公司递表香港。 今年以来 已递 未上市的A股公司累计 逾8 0 家,其中包括立讯精密、牧原股份、赛力斯、胜宏科技、百利天恒等 十几 家千亿 巨头  
此外,香港特区行政长官李家超于2025年9月17日在立法会发表的《施政报告》中指出,将大力推进科企专线、进一步完善主板上市机制及研究优化“同股不同权”上市规定、探索缩短股票结算周期至T+1、推动港股人民币交易柜台股票入通等举措。 
此举或有望进一步降低中概股回归上市门槛,并减少同股不同权公司的上市合规成本与阻力,带动更多中概股公司回港上市。9月16日,禾赛-W正式登陆港股市场,成为首只通过“科企专线”回港上市的中概股。 
约300家公司赴港IPO,这盛世如你所愿! 香港主板上市门槛有望放宽?《施政报告》涉及中概股回归、同股不同权等话题! 


 

(本文首发于活报告公众号,ID:livereport)


 

 

风险及免责提示:以上内容仅代表作者的个人立场和观点,不代表华盛的任何立场,华盛亦无法证实上述内容的真实性、准确性和原创性。投资者在做出任何投资决定前,应结合自身情况,考虑投资产品的风险。必要时,请咨询专业投资顾问的意见。华盛不提供任何投资建议,对此亦不做任何承诺和保证。